洋馬發動機下部拆裝注意事項
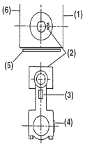
拆卸曲軸皮帶拉輪時,注意不要損壞曲軸末端的螺紋。注意安全?。?/P>
對正時齒輪,挺柱,軸承瓦,活塞連桿等部件進行標記
拆卸活塞時不要讓桿接觸到曲軸,以防損壞軸頸。

檢查項目包括正時齒輪間隙,止推軸承磨損情況,氣缸體錐度,活塞直徑,活塞銷直徑,活塞環厚度,活塞環接口間隙,連桿內徑,挺柱磨損程度,曲軸彎曲度及軸頸,對凸輪軸進行檢查等。以上項目請用專用儀器進行檢查。
發動機下部拆裝注意事項
主軸承上的箭頭指向發動機末端的飛輪端
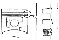
當活塞裝配正確時,刻印在連桿頂部的標識 會和刻印在連桿上連桿和連桿蓋的裝配記號處于同一側。(106T系列除外)
裝入汽缸時,活塞頂部的刻印標識必須朝向噴油泵端,連桿上的記號必須朝向發動機的飛輪末端。


用活塞環安裝工具裝活塞環。不要徒手安裝。
安裝時,第一道和第二道環上刻的記號必須朝向活塞頂部。油環和油環擴張器都可以安裝在任意一側。

不同活塞環的區別的區別:
第一道環為桶狀,第二道為錐形。
第二道環顏色比第一道暗。第一道環為銀色。
油環搭口與擴張器間隙成180度

使活塞環搭口交錯120°。

不要使頂部活塞環的搭口和活塞銷處于一條直線上。