杭州前進齒輪箱基本構造、原理、維護及使用
雙渦輪變矩器、行星變速箱,動力換檔,機液控制為ZL40/50裝載機配套

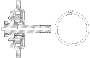
液力變速器結構圖

ZL40/50液力變速器
基本參數
ZL40 ZL50
額定輸入功率 : 114 kW 154 kW
額定輸入轉速 : 2000 r / min 2200 r / min
變矩器型式 : 單級、二相、四元件(雙渦輪)
變矩器零速變矩比(K0) : 3.8~4.2
輸入輸出中心距 : 562.25 mm
變速箱型式 : 2前1倒、動力換檔 、行星結構
速比 : 前進 Ⅰ檔 2.155 Ⅱ檔 0.578 倒退 Ⅰ檔 1.577
變速器操縱方式 : 機液操縱
液力變矩器
泵輪+一級渦輪+二級渦輪+導輪(單級、二相、四元件式)

內部液流方向:泵輪—渦輪—導輪—泵輪……
變矩器主要性能參數
變矩比K K=渦輪扭矩/泵輪扭矩
K0=變矩器傳動比i為0時的K值
效率 n 約為80~90%
能容Mp 指泵輪在1000r/min時所能吸收的扭矩
循環圓 循環空間的軸截面(通過旋轉軸的截面)
典型工況:
1)起動工況:i=o時的工況
2)最高(最佳)效率工況
3)高效工作區:效率值大于給定值(通常為75%)區域
4)偶合工況:變矩系數K=1
變矩器的結構原理
變矩器由泵輪、渦輪和導輪三種旋轉元件所組成,由這三個工作輪組成一個循環圓系統。液體按上述順序通過循環圓流動,發動機的機械能,通過泵輪轉換為液體的動能,再由渦輪轉換為機械能,變速器內的供油泵不斷地把壓力油供給變矩器,這樣才能使變矩器工作起作用,即增加發動機的輸出扭矩,同時通過經變矩器排出的油帶走變矩器內產生的熱量并將熱量排出。
變矩器可以通過二種方式改變其能容:1:是改變泵輪的葉片角。2:是相似放大或縮小(即按同一幾何比例改變)循環圓直徑和其他部份的尺寸。
變矩器的主要功能
實現無級變速,增加發動機牽引力,改善發動機的工作特性,防止機械作業時發動機熄火,改善變速器的換檔品質,有利于動力換檔。
通過變矩器,輸出轉速可無級變化,驅動扭矩能自動適應所需的負載扭矩,當渦輪轉速達到泵輪轉速的80%時,變矩比接近1,渦輪扭矩等于泵輪扭矩,此時,變矩器相當于一個偶合器。
變矩器的這種自動適應性,使它特別適用于起步頻繁,路面條件復雜或工作負荷變化較大的自卸車、工程機械和軍用車輛,它能使駕駛員減輕勞動強度,并有更多的精力用于操作工作裝置。
變矩器的工作特性
由于變矩器通過液體為介質而傳遞動力,所以又具有傳動平穩,零件受到的沖擊振動較小等優點,這對于要求高舒適性的轎車或大功率的傳動裝置也有較重要的意義。
但是由于變矩器的油液在運動中有種種損失,如渦流、沖擊磨擦等,所以其傳動效率比機械傳動低,其較高的效率約85%,零速工況時則為零,所以變矩器在應用時特別要注意適用性,并配備一定容量的散熱器。
液力變速器傳動原理圖
動力換擋變速箱
特點和用途:本變速器由液力變矩器和動力換檔機械變速器兩部分組成,具有結構簡單,工作可靠,操縱方便和傳動效率高的特點。用于載荷和速度變化比較頻繁的以四輪驅動的工程機械(如裝載機)的動力傳動。
動力換擋:可在不切斷動力情況下進行升降擋操作通過帶有濕式摩擦片的離合器實現
動力箱主要有齒輪、離合器、軸、箱體等組成行星式結構
操縱油壓: 1.10~1.40Mpa
變矩器進口油壓: 0.30~0.45Mpa
變矩器出口最高允許溫度: 120。C
超越離合器原理圖

超越離合器工作原理
變矩器二級渦輪的動力經輸入二級齒輪傳至中間輸入軸,變矩器一級渦輪的動力傳至輸入一級齒輪,再傳至大超越離合器外環齒輪;當外負荷較小時,因變速箱中間輸入軸比大超越離合器外環齒輪的轉速高,使大超越離合器滾柱空轉,此時二級渦輪單獨工作。
當外負荷增加時,迫使變速器中間輸入軸轉速逐漸下降(此時發動機轉速基本不變),如中間輸入軸的轉速小于大超越離合器,外環齒輪轉速時滾柱被楔緊,由一級渦輪傳來的動力經滾柱傳至大超越離合器凸輪,由于凸輪與中間輸入軸為螺栓聯接,故此時一級渦輪與二級渦輪同時工作。
液力變速器液壓原理圖

液壓控制系統
液壓控制系統必須滿足下列工作要求,保證有穩定的控制壓力,為液力變矩器提供傳遞介質——油,換檔時使各檔摩擦元件能迅速而平順地結合,維持變矩器內一定的油壓,以免氣蝕,提供足夠的油量保證潤滑和散熱的需要,其他要求如微動、制動時自動脫檔,閉鎖、換檔解鎖等。
液壓控制系統
液壓控制分類:機液控制,電控液動,自動控制
機液控制:靠人工控制閥桿,由閥桿控制油的流向。
電控液動:換檔時,人是通過控制電氣選擇器使接通電磁閥,再由電磁閥控制油的流向。
自動控制:在駕駛員給定的速度范圍內,自動控制器能根據車輛的負荷,速度確定換檔時 機和檔位,并動接通相應的電磁閥進行換檔,必要時駕駛員也可干預換檔。
操作、維護和保養

換擋和換向
在啟動發動機時應將變速桿置于空檔位置!
變速器換檔時應先減速行駛!
換向時應先停車再掛檔!
加油及油位檢查
必須在發動機處于怠速工況、停車掛空擋及變速器處于正常工作的熱平衡溫度(裝載機一般為60~80 ℃,壓路機一般為50℃左右)時來檢查、控制油面高度。
檢查時機液控制的換擋(向)閥桿或電液控制的選擇器手柄必須置于空擋位置。
說明書中用油量為參考值,需考慮到冷卻器、兩根油管、變矩器等的油量;油量不足有可能造成牽引無力,油位過高則可能引起變速器溫升及透氣帽的冒油現象。
ZL50系列液力變速器采用8號液力傳動油,或選用符合SAE15W-40標準的傳動油。
液力變速器決不允許用普通的齒輪油、機油作為傳動及潤滑油。不清潔及不合規定的油品將造成變速器工作異常!
變速箱油液的清潔度對變速液壓系統的元件,如油泵、操縱閥等性能及壽命影響較大,因此必須保持油液的清潔度,變速箱油應按規定期限更換。
駕駛室內監控的潤滑油溫應為變矩器的出口油溫,其溫度最大不得超過120 ℃ 。正常工作油溫應在80~100 ℃之間。
油位檢查方法
1)將車輛停于平坦地方;
2)變速器換擋手柄置于空擋位置“N”;
3)變速器工作溫度在正常范圍之內;
4)發動機處于怠速工況,轉速約為 1000r/min;
5)40 ℃時油位應在檢油塞之間;
6)80 ℃時油位應在檢油塞之上。
換油及濾清器的更換
首次換油為100工作小時后,以后每隔1000工作小時或一年(以先到為準)換一次油。
換油時應將車輛置于平地,盡量排干變速箱內的舊油,包括散熱器及相關管路。
變速器油溫在40℃時放油效果最佳。
每次換油必須同時清洗(或更換)濾清器!
日常工作時應注意濾清器內的旁通閥是否是開啟狀態。
日常保養
保養分為50、200、600、2400工作時保養。
50小時(周)保養(1)檢查油位。(2)檢查變速器操縱裝置等。
200小時(月)保養:清洗(或更換)濾清器、清洗油底殼。
600小時(季)保養:(1)變速箱更換新油。(2)清洗(或更換)濾清器、清洗油底殼。
2400小時(年)保養:對變速箱、變矩器進行解體檢查,更換易損件,必要時調整或更換零部件。
注意:變速器應由專業人員或在其指導下進行維修及拆檢!
常見故障分析及排除方法
以下介紹的是ZL40/50系列變速器的一些常見故障(異常現象)及相應的簡易排除方法。有些故障可由用戶自行排除;如變速器的故障涉及到維修或拆檢,請由專業人員或在其指導下進行。如遇到表中未涉及或非表中所分析的故障或異常現象,應由專業人員進行現場分析并確定相應的解決措施。
1)發動機正常運轉但不能行駛
未掛上擋 → 檢查操縱閥桿是否回位,拆檢后找出不能回位原因并排除之(機控);
變速箱內油位過低 → 按要求補充新油
變速操縱閥的制動閥桿不能回位→拆檢制動閥桿、找出不能回位原因
變速油泵損壞或油封滲漏造成供油不足 → 更換新件,檢查密封面及油封
2)驅動力不足
變矩器入口油壓低 → 檢查變速箱油位;更換或清洗濾清器及粗濾網;檢查操縱閥中的壓力控制閥及制動脫檔閥是否正常。
主壓力偏低(理論值1.10~1.40MPa)。
離合器打滑 → 檢查各離合器油壓及活塞油封;檢查有無過載現象。
發動機轉速不夠 → 檢查發動機。
3)控制壓力(主壓力)偏低、不穩或表跳
減壓閥調整不當 → 重新調整
油濾器堵塞 → 清洗濾油器;
油泵失效 → 更換新件;
離合器活塞油封嚴重漏油 → 更換油封(異形密封環)
4)潤滑油溫過高
變速箱內油位過高或過低 → 按要求注油
長期重負荷工作 → 暫停作業,待冷卻后再行工作
制動器抱死或拖帶嚴重 → 檢查并進行調整
軸承燒損、油路不暢 → 更換燒損零件、檢查油路及油泵
離合器打滑或燒損 → 檢查工作壓力,更換燒損零件
冷卻器損壞 → 檢查冷卻器(正常情況下潤滑油在冷卻器內的進出油口的溫差在10℃左右)
車輛內其它零部件過熱經熱傳導后導致變速器過熱 → 檢查其它零部件(橋、發動機等)是否正常
5)緊急制動后掛不上檔
氣制動閥踏板限位釘調整不當,氣制動閥不能徹底回位 → 重新調整踏板限位螺釘,使氣動閥能徹底回位
氣制動閥活塞卡住,解除制動后不能回位 → 清洗檢修活塞
制動閥桿卡住 → 拆檢制動閥桿
變速器安裝與聯接的注意事項和要求
與發動機聯接
與油泵的聯接
與傳動軸的聯接
精濾器的選用與安裝
冷卻器的選用與安裝