柴油發動機高壓共軌電動燃油泵

A圖 A 油泵元件 B 電動機 C 后蓋 1-壓力端 2-電動機樞軸 3-滾子泵 4-限壓閥 5-進油端
B 圖 1-進油端 2-轉子 3-滾子 4-基盤 5-壓力端
電動燃油泵只用于轎車和輕型商務汽車。它并不是只負責將燃油供給至高壓泵,還可能在監控系統的控制下,當有緊急情況發生時,它必須切斷燃油供給。
柴油發動機高壓共軌齒輪式燃油泵

1-吸油端 2-驅動齒輪 3-壓力端
在轎車,商務汽車和越野汽車上,齒輪式燃油泵是用來為共軌高壓油泵提供燃油的。它既可以集成在高壓油泵中,由高壓油泵驅動軸驅動,也可以直接連接到發動機上,由發動機驅動。
普通的驅動形式有:連軸器,齒輪或者齒帶式連接。
柴油發動機高壓共軌燃油濾清器

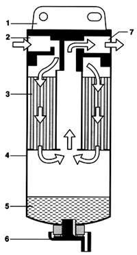
柴油發動機高壓共軌帶油水分離裝置濾清器
1-濾清器蓋
2-進油口
3-紙質濾芯
4-殼體
5-水分收集器
6-放水螺塞
7-出油口
燃油中若含有雜質,將導致油泵零部件、出油閥、噴油嘴的損壞。因此必須裝用燃油濾清器,燃油濾清器必須符合噴射系統的特定要求,否則燃油供給系統正常運轉和相關元件的使用壽命將無法得到保證。
柴油中含有可溶于乳狀或者自由水(例如:用于溫度變化的冷卻水),若這種水進入噴射系統,將會引起燃油系統元件的穴蝕。
那個地方能修挖機液壓泵、長沙哪里有修挖機的修配廠、哪里有挖機的修配廠、株洲那里有維修大功率發電機的地方、那里有維修發電機組的地方