卡特CAT窗體底端
C15和C18發動機缸蓋總成的技術規格
|
304-0365缸蓋總成的技術規格 | |||
|
項目 |
數量 |
零件 |
技術規格說明 |
|
- |
16 |
6I-4025缸蓋緊固件總成 |
以下螺栓的長度為 |
|
以下螺栓的長度為 | |||
|
按照下列步驟擰緊缸蓋的螺栓: | |||
|
按數字次序擰緊螺栓1到螺栓26至 | |||
|
按數字次序擰緊螺栓1到螺栓26至 | |||
|
再次按數字次序擰緊螺栓1到螺栓26至 | |||

技術規格說明A--新缸蓋的厚度為
120.00±0.15mm(4.724±0.006in)。

|
表3 | |||
|
項目 |
數量 |
零件 |
技術規格說明 |
|
凸輪軸襯套必須安裝在正確的位置。否則會造成發動機損壞。 | |||
|
B |
- |
- |
襯套接合處的方向是高于水平20±5度。 |
|
C |
- |
- |
凸輪軸襯套的孔徑為 |

表4項目數量零件技術規格說明17216-5582襯套襯套的安裝深度非常重要。將襯套安裝至以下深度:尺寸(D)為
8.0±0.5mm(0.31±0.02in)。尺寸(E)為
178.1±0.5mm(7.01±0.02in)。尺寸(F)為
349.5±0.5mm(13.76±0.02in)。尺寸(G)為
521.0±0.5mm(20.51±0.02in)。尺寸(H)為
692.4±0.5mm(27.26±0.02in)。尺寸(J)為
863.8±0.5mm(34.01±0.02in)。尺寸(K)為
1035.3±0.5mm(40.76±0.02in)。
274-1953缸蓋總成和235-2974缸蓋總成技術規格
以下螺栓為
194mm(7.6in)長:螺栓1至螺栓10、15、17、19、21、23和25
以下螺栓為
215.9mm(8.5in)長:螺栓11至螺栓14、16、18、20、22、24和26
在螺栓的螺紋上和硬墊圈兩側涂抹6V-4876潤滑劑。
按照下列步驟擰緊缸蓋的螺栓:
按數字次序擰緊螺栓1到螺栓26至
270±15N·m(200±11lbft)。
按數字次序擰緊螺栓1到螺栓26至
450±15N·m(330±11lbft)。
再次按數字次序擰緊螺栓1到螺栓26至
450±15N·m(330±11lbft)。
缸蓋的平整度都應在總體
0.13mm(0.005in)范圍內。此外。對于任意
150mm(6.0in)跨度內,缸蓋的平整度最大值應在
0.05mm(0.002in)以內。
|
274-1953缸蓋總成和235-2974缸蓋總成技術規格 | |||
|
項目 |
數量 |
零件 |
技術規格說明 |
|
A |
- |
- |
缸蓋厚度: |

(1)套筒軸承接頭
(2)機油道
(3)機油孔
(4)套筒軸承

|
274-1953缸蓋總成和235-2974缸蓋總成技術規格 | |||
|
項目 |
數量 |
零件 |
技術規格說明 |
|
B |
- |
- |
套筒軸承接頭的方位為水平面以上20±5度 |
|
C |
- |
- |
凸輪軸套筒軸承的孔為 |

274-1953缸蓋總成和235-2974缸蓋總成技術規格項目數量零件技術規格說明47216-5582襯套套筒軸承的安裝深度是很重要的。將套筒軸承安裝到以下深度:
尺寸(D):
8.0±0.5mm(0.31±0.02in)
尺寸(E):
178.1±0.5mm(7.01±0.02in)
尺寸(F):
349.5±0.5mm(13.76±0.02in)
尺寸(G):
521.0±0.5mm(20.51±0.02in)
尺寸(H):
692.4±0.5mm(27.26±0.02in)
尺寸(J):
863.8±0.5mm(34.01±0.02in)
尺寸(K):
1035.3±0.5mm(40.76±0.02in)

|
274-1953缸蓋總成和235-2974缸蓋總成技術規格 | ||||||
|
項目 |
數量 |
零件 |
技術規格說明 | |||
|
5 |
- |
- |
組裝前,將4C-9506固定膠涂抹在六個噴油器套筒的下端壓裝直徑上。 | |||
|
V |
- |
- |
杯塞的安裝深度為 | |||
|
W |
- |
- |
杯塞的安裝深度為 | |||
|
223-7263缸蓋技術規格 | ||||||
|
項目 |
數量 |
零件 |
技術規格說明 | |||
|
- |
- |
- |
以下螺栓的長度為 | |||

|
項目 |
數量 |
零件 |
技術規格說明 |
|
A |
- |
- |
缸蓋厚度: |
|
項目 |
數量 |
零件 |
技術規格說明 |
|
4 |
7 |
216-5582襯套 |
套筒軸承的安裝深度是很重要的。將套筒軸承安裝到以下深度: |
432-5472缸蓋總成的技術規格項目數量零件技術規格說明116124-1855螺栓按照以下步驟擰緊缸蓋螺栓:參考圖1以了解擰緊順序:
以下螺栓的長度為
194mm(7.6in):螺栓1至螺栓10、15、17、19、21、23和25。
以下螺栓的長度為
215.9mm(8.50in):螺栓11至螺栓14、16、18、20、22、24和26。
1.在螺栓的螺紋上和硬墊圈兩側涂抹6V-4876潤滑劑。
2.按照數字順序,將螺栓1至螺栓26擰緊至扭矩為
270±15N·m(199±11lbft)。
3.按照數字順序,將螺栓1至螺栓26擰緊至扭矩為
450±15N·m(332±11lbft)。
4.按照數字順序,再次將螺栓1至螺栓26擰緊至扭矩為
450±15N·m(332±11lbft)。210124-1854螺栓

項目數量零件技術規格說明3203B-0645杯塞在裝配前,將Loctite11358涂抹到杯塞的孔上。
安裝深度為
1.25±0.25mm(0.050±0.010in)。4-3B-0623杯塞在裝配前,將Loctite11358涂抹到杯塞的孔上。512166-2904O形密封圈在即將裝配前,用清潔的15W-40發動機機油稍微潤滑孔。66263-4920噴油器套筒在裝配前,將綠色Loctite620涂抹到噴油器套筒下端的壓配合直徑上。
壓裝噴油器套筒,直至噴油器套筒在端面(7)處觸底。

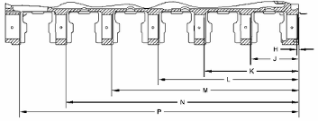
項目數量零件技術規格說明-7216-5582襯套參考圖3以便按照以下尺寸安裝凸輪軸襯套:
尺寸(H)為
8.0±0.5mm(0.31±0.02in)。
尺寸(J)為
178.1±0.5mm(7.01±0.02in)。
尺寸(K)為
349.5±0.5mm(13.76±0.02in)。
尺寸(L)為
521.0±0.5mm(20.51±0.02in)。
尺寸(M)為
692.4±0.5mm(27.26±0.02in)。
尺寸(N)為
863.8±0.5mm(34.01±0.02in)。
尺寸(P)為
1035.3±0.5mm(40.76±0.02in)。

項目數量零件技術規格說明R--凸輪軸襯套的孔徑為
90.985±0.020mm(3.5821±0.0008in)。S--襯套接合處的方向是高于水平20±5度。---新缸蓋的厚度為
120.00±0.15mm(4.724±0.006in)。
婁底發電機維修,康明斯發動機臺州維修,余姚修發電機,株洲哪里修發電機 ,康明斯QSK45 發電機組維修