卡特彼勒3412C 發電機組窗體底端機油濾清器底座 - 拆卸
|
表 1 | |||
|
需要的工具 | |||
|
工具 |
零件號 |
零件名稱 |
數量 |
|
A |
185-3630 |
皮帶扳手組件 |
1 |

使用工具 (A) ,卸下發動機機油濾清器 (4) 。
卸下管組件 (5) 和 O 形密封圈。
卸下管組件 (3) 和 O 形密封圈。
拆卸螺栓 (2) 。拆卸發動機機油濾清器底座 (1) 。
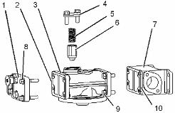
卡特彼勒3412C 發電機組機油濾清器底座 - 拆解

拆卸螺栓 (8) 。從發動機機油濾清器底座 (3) 上卸下蓋 (1) 和密封墊 (2) 。
拆卸螺栓 (9) 。從發動機機油濾清器底座 (3) 上卸下接頭 (7) 和密封墊 (10) 。
從發動機機油濾清器底座上卸下螺栓和蓋 (4) 。
拆卸彈簧 (5) 。
卸下柱塞 (6) 。
卡特彼勒3412C 發電機組油濾清器底座 - 組裝

安裝柱塞 (6) 。
安裝彈簧 (5) 。
將蓋 (4) 安置在發動機機油濾清器底座 (3) 上,安裝螺栓。
將密封墊 (10) 和接頭 (7) 安置在發動機機油濾清器底座 (3) 上,安裝螺栓 (9) 。
將密封墊 (2) 和蓋 (1) 安置在發動機機油濾清器底座 (3) 上,安裝螺栓 (8) 。
發動機機油冷卻器 - 拆卸

拆卸螺栓 (5) 和螺栓 (7) 。
卸下管帽 (1) 或管帽 (4) 。 從管帽上卸下 O 形密封圈。
注: 可以從發動機前部或后部卸下發動機冷卻器芯。
卸下發動機機油冷卻器芯 (6) 。從冷卻器進口彎頭 (2) 和歧管 (3) 上卸下 O 形密封圈。
如有必要,從缸體上卸下其余的管帽。
挖掘機維修技師,溫州挖掘機修理廠,康明斯k5o中修需多少錢,旋挖機電路維修