康明斯柴油發電機組PCC3100控制器操作說明書
系統概述
PCC是康明斯電力系統發電機組上使用的以微處理器為基礎的控制器,它提供燃油控制和發動機調速功能、主發電機輸出電壓調整和全套機組控制和監測。它同時還提供隔離母排或市電(主用電源)并聯電力系統的自動和半自動同步,以及自動負載分配控制功能。
康明斯柴油發電機組PCC3100操作軟件控制發電機組及其性能特征,并通過數字式顯示屏顯示機組的運行狀態,由前端面板上的按鍵進行控制或功能設定。
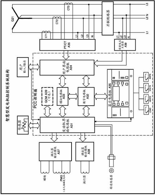
康明斯柴油發電機組PCC3100控制功能下圖顯示出一部分控制功能,后面有更完整的方框圖。系統接線圖參閱電路圖。PCC經由磁電式轉速傳感器(MPU)和主定子的輸入獲取頻率信號,控制盤送出一低功率脈沖寬度調制(PWM)信號到調速器輸出模塊,然后向發動機燃油控制器輸出一個放大信號。
康明斯柴油發電機組PCC3100母排電壓互感器模塊將母排電壓降低到大約18VAC,并向控制盤提供一信號,作為發電機組與系統母排同步的參考信號。
由外部的電壓/電流互感器(PT/CT)模塊將發電機電壓降至18VAC,并經由電流互感器(CT)輸出電流產生一個參考交流電壓,通過電壓調節向調壓器輸出模塊輸出一個低功率PWM信號,然后向勵磁機定子輸出一個放大信號。機油、冷卻液和排煙溫度由可變電阻傳感器傳送信號,機油壓力由電容式傳感器傳送信號。

康明斯柴油發電機組PCC3100電路板和模塊概述
以下敘述有關PCC控制盤和附件箱內的電路板與模塊的功能方框圖顯示了PCC系統的內部和外部部件。
靜電放電將損壞電路板,當接觸電路板或接插晶片時,請預先戴好手腕型接地環帶。

455