MTU柴油機結構介紹 3.1機體簡介
MTU956 柴油機機身凈重20.7噸,共20缸V 形結構,總長約5670mm,機體用球墨鑄鐵制成,以保證足夠的剛度。鋼制的軸承蓋裝在軸承座中,依靠側壁與機體配合定位。主軸承蓋垂直方向用縱向拉緊螺栓,水平方向用橫向拉緊螺栓固定在機體的中分面上。曲軸由十三個滑動軸承支承在由機體中分面下軸承座和主軸承蓋組成的主軸承孔中,并在曲軸輸出端用一個由凸緣襯套和向心推力軸承組成的止推軸承實現軸向定位。兩根凸輪軸布置在機體中位置較高的地方,這樣可縮短推桿,從而有助于提高配氣機構剛度。由特種鑄鐵離心澆鑄成的濕式缸套從機體上方裝入,每只缸套上用凸肩密封,下方用密封環密封。排氣管是帶絕熱層的分段焊接結構,布置在V型夾角內。發動機回水管,五個雙級增壓器(A側兩個B側三個)和進氣總管都布置在V型夾角內,進氣處有六個進氣過濾器對氣體進行過濾。
主軸瓦和連桿大端采用目前世界上先進的鋼背鋁基溝紋軸瓦。即把用以保持良好磨損性能的軟質成分和用以保證高疲勞強度與耐磨能力的硬質成份在軸瓦表面上予以適當的隔開,軸瓦表面上形成溝槽(軟質成份)和紋帶(硬質成份),這種軸瓦比常用的銅鋁合金或鉛錫合金瓦的壽命要延長5倍以上。連桿形式采用并列連桿結構,使曲軸受力均勻。活塞組件采用組合式活塞,為保證活塞的冷卻,活塞內部鑄有冷卻油槽,由專門的活塞冷卻油噴嘴連續不斷地噴入滑油,以帶走活塞頂大部分熱量,降低活塞熱負荷。
3.2 曲軸箱
1 曲軸箱 12 連接螺母
2 密封圈 13 曲軸軸承
3 密封圈 14 活塞冷卻油噴嘴
4 汽缸套 15 活塞冷卻油主油道
5 觀察孔門 16 運動件潤滑油道
6 凸輪軸檢查蓋板 17 凸輪軸承
7 防爆孔門 18 從齒輪箱來的活塞冷卻油
8 從冷卻水導管
9 十字交叉螺栓 a 缸頭潤滑油
10 去主潤滑油泵 b 缸頭冷卻水
11 連接螺栓
曲軸箱是柴油機的基礎,由固定在機身內部的傳動齒輪機構、輔助安全裝置、缸頭、機身等組成,為了保證機身的穩定,曲軸箱被布置在曲軸中心線以下。左右兩側汽缸中心線成60度布置。曲軸箱與廢氣渦輪增壓器的進氣管線相連,以轉移從活塞環中竄入曲軸箱內的氣體。軸承蓋被橫向和縱向的螺栓緊固在曲軸橫斷面處,曲軸安裝在軸承上,每側兩根鋼制管道是機體內的主冷卻15和潤滑16油通道,而用以冷卻活塞的噴嘴被螺釘固定在潤滑油管道15的底部。為了檢查運動部件的狀態,在機身的兩側設計了觀察孔門5,其中AB兩側各設置兩個防爆孔門7,以防止曲軸箱超壓。凸輪軸安置在曲軸箱的17位置,齒輪系安裝在柴油機自由端,在機身最底部的是承油盤,它為柴油機的運行提供其所需的潤滑油。
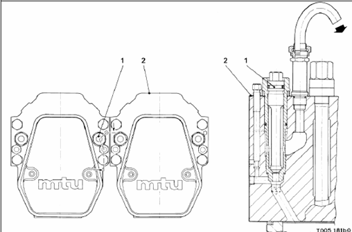
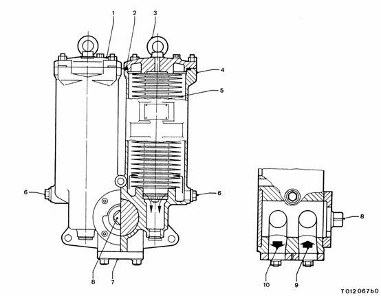
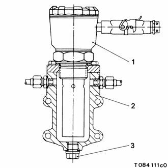
3.3主要零部件介紹 3.3.1防爆孔門(代碼:165/166/167/168VH)
1、閥蓋 2、彈簧 3、閥瓣 4、O形圈 5、防火絲網 6、孔門端蓋
開啟壓力:0.20+0.03/-0.01bar 流通面積:71cm2
描述:該安全閥由閥蓋、閥瓣、防火絲網等組成,與觀察孔門安裝在一起構成防爆孔門,其開啟壓力由彈簧的預緊力控制。防火絲網旋在防爆孔門的內部,用以防止火星噴出。如果發生曲軸箱超壓,曲軸箱內壓力達到閥門的開啟壓力時,防爆孔門打開,待曲軸箱內壓力恢復正常后,在彈簧回復力作用下,該閥自動關閉。
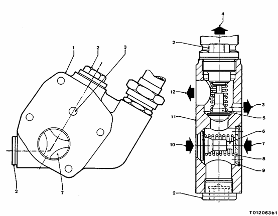
3.3.2 曲軸箱呼吸器:
1、壓縮空氣室 2、進氣流道 3、進氣氣室
4、曲軸箱呼吸氣室 5、回油孔 6、虹吸管
a.進氣 b.曲軸箱混合油氣
描述:曲軸箱呼吸器與壓氣機的進氣相連,在曲軸箱內形成微負壓,壓氣機把油氣混合氣體從曲軸箱的吸入管線b處吸到進氣氣室和壓縮空氣氣室之間的凝結機構中,混合氣中的油粒子會被分離到凝結機構中冷凝,凝結后的油通過回油管道(虹吸管)送回到曲軸箱中。
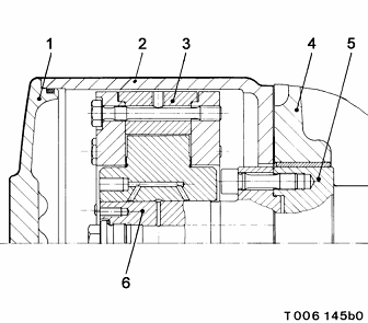
3.3.3 傳動齒輪系:
1、曲軸齒輪 2、大二級傳動齒輪 3、小二級傳動齒輪
4、凸輪軸惰轉齒輪 5、凸輪軸惰轉齒輪 6、凸輪軸驅動齒輪
7、凸輪軸驅動齒輪 8、主機冷卻水泵驅動齒輪 9、供油泵驅動齒輪
10、調速器驅動齒輪 11、增壓空氣冷卻水泵驅動齒輪
12、潤滑油泵惰轉齒輪 13、潤滑油泵驅動齒輪
17、大調速器惰轉齒輪
描述:曲軸將柴油機活塞的往復直線運動轉換成回轉運動后,通過傳動齒輪系帶動冷卻水泵、潤滑油泵、輸油泵、凸輪軸等轉動,以上所有齒輪都安裝在曲軸的自由端。
3.4 運動件
|
描述:運動件由曲軸、連桿、活塞組成,將燃料的化學能轉化為機械能。活塞的往復直線運動通過連桿傳遞到曲柄銷,進而轉化為曲軸的旋轉運動,減震器用來消除曲軸的振動,減少曲軸機械負荷。
3.4.1 曲軸
1、齒輪 2、曲軸 3、軸承 4、平衡重
描述:曲軸將活塞的直線往復運動轉化為回轉運動,它為整體鍛造,支撐軸頸為感應淬火后磨光。曲軸靠安裝在曲軸箱上的滑動軸承支撐,并在驅動端設置了四點推力軸承以平衡軸向力。質量平衡是通過用螺栓固定在曲軸上的平衡塊來實現的,潤滑油通過主潤滑油道潤滑曲軸。在曲軸驅動端布置有連接法蘭用以傳遞功率。曲軸減震器和用以驅動齒輪系的齒圈安裝在曲軸的自由端。
|
描述:上死點指示環和定時器一起安裝在曲軸非驅動端,用以指示各活塞的位置。該部分對柴油機調速器的正常工作具有重要作用。
3.4.2連桿
描述:柴油機左右兩側的連桿完全相同,切口形式為斜切,經模鍛、全表面機加工并水平剖分而成。AB兩側對應兩缸的連桿并排布置在曲軸的同一曲柄銷上。在同一曲柄銷上的兩個連桿并列安裝,相對運動。可被替換的軸瓦為上下分體結構,由銷釘進行定位,軸瓦是靠來自于曲軸內部油路中的壓力潤滑油進行潤滑的。連桿小端的銅軸瓦是靠壓力嵌入小端孔作為活塞銷軸承的。連桿大端蓋靠螺栓固定在連桿上。
3.4.3活塞組件
|
描述:活塞組件由潤滑油冷卻,它由活塞頂和活塞裙等組成。在鋁合金活塞裙上設置了一個圓柱形通口,用以安裝活塞銷。刮油環鑲嵌在活塞頂與活塞裙之間,活塞裙內布置有冷卻油道,鋼制活塞頂用螺栓固定在活塞裙上,在活塞裙內部設置有螺紋襯套,以加強螺紋連接的安全性。三道氣環布置在活塞頂外圈的三道凹槽上,以保證汽缸的密封和散熱。浮動的活塞銷由止推卡環定位,活塞銷由流過活塞中央的冷卻油進行潤滑。活塞冷卻油路如下:

冷卻活塞的潤滑油通過噴嘴進入活塞裙部的潤滑油道冷卻活塞,然后從活塞頂中部的回油孔流出,進入連桿小端上部的潤滑油腔,對活塞銷進行潤滑后回流至曲軸箱。
3.4.4 減震器描述:減震器的作用是通過彈簧片的變形來增加阻尼,用以平衡曲軸的扭矩。曲軸的扭矩和振動都是通過彈簧片進行衰減的。減震器的中心星形支架與外部構件通過板簧連接,彈簧片的一部分被緊緊的夾在中間構件內部,還有一部分被插在星形架上沿軸向分布的凹槽內。彈簧片與內部構件間形成了油腔,在柴油機運行期間,減震器內存在潤滑油壓。潤滑油通過曲軸油道進入減震器內,然后回流至曲軸箱承油盤。當有扭矩或振動傳遞時,彈簧片變形,彈簧片的內外圈間產生相對運動,致使彈簧片與內部構件間的油室空間發生波動,油室內的潤滑油受擠壓從端蓋上的油孔排出,這樣內外圈間的相對運動就會被阻滯,扭矩或振動就被衰減消除了。內部構件限制了彈簧片的形變量,因此減震器可以在短時間內消除曲軸扭矩及振動。
|
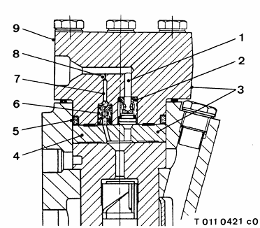
3.4.5 缸頭

外彈簧 2、內彈簧 3、密封圈 4、噴油器
閥門夾頭 6、上彈簧座 7、缸頭 8、下彈簧座
進油管 10、密封圈 11、固定螺母 12、回油管
進氣閥 14、進氣閥導向 15、密封圈 16、排氣閥
排氣閥導向
a、冷卻水入口 b、燃料入口 c、空氣入口 d、排氣
描述:分體式缸頭被螺栓緊固在曲軸箱上,曲軸箱與缸頭間由銅墊片進行密封, 油路和冷卻水路又由橡膠密封圈進行密封,缸頭上表面由缸蓋進行密封,每個缸頭上有兩個進氣閥和兩個排氣閥分布在噴油器的周圍,進氣閥和排氣閥安裝在下彈簧座上,噴油器安裝在氣閥中間的孔內,與缸頭油道間用密封環進行密封。每個缸頭都有一個減壓閥,每一側活塞組布置一個啟動空氣分配器。
3.4.6 下彈簧座
|
描述:下彈簧座的作用除了支持彈簧外,主要是旋轉氣閥,避免氣閥受熱不均或閥座積碳。該彈簧座由帶凹槽的環形座體以及彈簧、鋼珠、壓蓋等組成。在座體內的每個凹槽內布置有一個鋼珠,當閥門關時,鋼珠被凹槽內的彈簧頂在凹槽最高位置(如11),一個內凹的蝶形墊圈安裝在環形座體與壓蓋之間,由壓蓋將彈簧的形變傳遞到蝶形墊圈上。
動作過程:如果氣閥打開,彈簧增加的彈力會使蝶形墊圈變平,然后蝶形墊圈將其壓力傳遞給鋼珠使其產生向壓縮凹槽內彈簧方向的運動(如10),彈簧座的旋轉量應為鋼珠旋轉距離的兩倍。與此同時,由于凹槽內彈簧的存在就使氣閥彈簧傳給蝶形墊圈的形變得到了恢復并轉化為滑行運動。摩擦力使壓蓋跟隨蝶形墊圈一起旋轉,壓蓋帶動氣閥彈簧,彈簧再傳遞給上彈簧座,從而帶動氣閥旋轉。當氣閥關閉時,蝶形墊圈的形變被釋放,鋼珠被凹槽內的彈簧壓回至其初始位置,但不帶動蝶形墊圈旋轉。
3.4.7 減壓閥
1、減壓閥 2、缸頭
描述:該減壓閥處于缸頭上右側,閥門由處于缸頭上的孔、閥桿和閥座等組成。當閥門關閉的時候,錐形的閥桿被壓在缸頭上的孔道內,防止壓縮空氣從孔道內泄漏。當閥門打開的時候,閥桿被提升至較高的位置,閥門打開,空氣從燃燒室內通過減壓閥排出。
3.4.8 氣閥齒輪
1、排氣搖臂 2、搖臂銷支撐機構 3、搖臂銷
4、氣閥間隙調整螺釘 5、進氣搖臂 6、凸輪軸端蓋
7、噴油泵 8、導向軸 9、挺柱
10、搖臂 11、滾子套筒 12、密封件
13、凸輪軸 14、止推板 15、凸輪軸驅動齒輪
描述:閥動機構包括機體上所有保證進排氣閥正確動作的裝置。每一側活塞組有各自的凸輪軸。凸輪軸的自由端由兩個螺栓固定在曲軸箱上,它由曲軸直接驅動,推動氣閥挺柱、頂桿和搖臂以及噴油泵的搖臂等。為減少凸輪軸的扭矩和振動,在機身的右側凸輪軸的驅動端安裝了減震器。
|
挺桿由凸輪驅動,設計有一套筒結構,用以導向頂柱。 頂柱將挺桿的運動傳遞給氣閥搖臂。在搖臂支架上布置有兩個氣閥搖臂,長的氣閥搖臂是排氣側,短的氣閥搖臂是進氣側,搖臂軸定位在缸頭上的兩個搖臂支架上,由開口銷進行定位。在搖臂上的調整螺釘用以調整氣閥間隙,潤滑油通過齒輪箱上的油口進入凸輪軸,搖臂的潤滑油來自于凸輪軸軸承。挺桿由缸頭上的潤滑油來潤滑。
3.4.9 凸輪軸減震器
|
描述:該減震器與曲軸減震器完全相同,這里不再敘述。
3.5 柴油機控制柴油機由電子調速器控制,傳動機構將調速器的控制信號傳遞到噴油泵,速度傳感器記錄曲軸和高壓渦輪增壓器的速度,將該信號傳遞到電子調速器,作為調速依據。
3.5.1電子調速器(電液式)代號:100UC
|
描述:電子調速器控制調速器執行機構并作用在噴油泵的調節齒條上。調速器安裝在機體的自由端,由電子執行器和液壓助力機構組成。控制桿位置監測器安裝在調速器的頂部,用以記錄控制桿的位置以及為柴油機控制系統提供有價值的數據。調速器結構及功能復雜,在后面會有更詳細的介紹。
3.5.2 傳動裝置(此部分由于桿狀零件太多,用詞不太確切)
1、調速器 2、聯軸器 3、傳動桿 4、連接機構 5、噴油泵 6、泵體 7、柱塞 8、驅動器 9、驅動器襯套 10、安全控制桿
11、鉸接式連接 12、油門控制桿 13、油門回復機構 14、中央杠桿
描述:調速器通過調整柱塞副的位置決定著噴油泵的噴油量,連接機構4安裝在齒輪箱上,油門控制桿12固定在曲軸箱外側,位置在凸輪軸的上方,用以傳遞油門控制桿運動的傳動桿3被設計成類似安全控制桿10的結構。如果作用在傳動桿3上的偏轉力矩超過3.5Nm, 積分彈簧被壓縮, 引起安全控制桿10動作,切斷調速器傳動機構與噴油泵的聯系。利用彈簧的反彈力(1.6Nm)將傳動桿恢復其初始位置,油門回復裝置通過連接機構4作用在機身兩側的調節桿上,從而使噴油量為零。
3.5.3 渦輪增壓
1 增壓器組A1 5 增壓器組 B1
2 增壓器組A2
3 增壓器組B3 N 低壓渦輪增壓器
4 增壓器組B2 H 高壓渦輪增壓器
描述:柴油機裝備有二級渦輪增壓系統,渦輪增壓系統由五組增壓機組成,每一組增壓機又分為第一級增壓和第二級增壓,渦輪增壓機組安裝在機身上方的排氣管處,其是否投運取決于柴油機的功率。渦輪機安裝在冷卻水室和排氣管上方,該冷卻水室用以保證渦輪機軸承的冷卻。將渦輪機安裝在排氣管的正上方是為了降低熱損耗,并且可以保證機身外側的溫度達到相應的標準。
3.5.3.1高壓級渦輪增壓機(代碼:300/302/304/306/308CO)
1 渦輪蝸殼 11 密封環支撐
2 渦輪轉子 12 推力軸承
3 隔熱板 13 軸封環
4 阻熱盤 14 軸承襯套
5 軸承座
6 軸承室
7 密封空氣逆止閥 a 空氣
8 壓氣機蝸殼 b 排氣
9 進氣流道 c 潤滑油
10 壓氣機轉子 d 冷卻水
描述:高壓級渦輪增壓機由渦輪機和壓氣機組成,機身總重45kg,最大轉速58000rpm,由德國MTU,Friedrichshafen公司生產,型號ZR 170/087 ,該機分為渦輪,軸承室和壓氣機三大部分。渦輪機由螺栓和墊片固定在與軸承室固定在一起,壓氣機及其進氣室也固定在軸承室上,壓氣機和軸承室都是靠水冷的。轉子由焊接在軸上的渦輪2和用螺栓固定在軸上的壓氣機葉輪10組成,安裝在軸承室內的軸承襯套14上,且在軸承室兩側布置有推力軸承,以消除軸向力對渦輪增壓機的影響。柴油機潤滑油系統的壓力油在潤滑軸承套的同時也對軸承室及轉軸進行了冷卻。轉軸上的軸封環13用以阻止軸承室潤滑油進入渦輪機和壓氣機的進排氣管,同時也防止兩側的進排氣穿過軸承造成進排氣竄氣。在壓氣機葉輪后面布置有一個密封空氣逆止閥,開啟壓力為0.1bar,其作用是將壓氣機內具有一定壓力的空氣引出,用以加強密封環的密封效果。隔熱板3和阻熱盤4的作用是防止渦輪機側軸承過熱。
運行:部分氣缸排氣首先進入高壓級渦輪增壓機的渦輪機側,再通過低壓級渦輪增壓機,利用排氣熱能推動渦輪機轉子從而帶動壓氣機轉子轉動,吸入新鮮空氣并對進氣進行壓縮,進氣先被低壓級渦輪增壓機的壓氣機壓縮并進入低壓中冷器進行冷卻后,再進入高壓級渦輪增壓機進行二級壓縮。
3.5.3.2 低壓級渦輪增壓機(代碼:301/303/305//307//309CO)
1 渦輪蝸殼 11 密封環支撐
2 渦輪轉子 12 推力軸承
3 隔熱板 13 軸封環
4 阻熱盤 14 軸承襯套
5 軸承座
6 軸承室
7 密封空氣逆止閥 a 空氣
8 壓氣機蝸殼 b 排氣
9 進氣流道 c 潤滑油
描述:從上圖可以看出,低壓級渦輪增壓機與高壓級渦輪增壓機結構基本相同,兩者運行方式也完全一樣,因此這里不再敘述。唯有型號上有部分區別,該機型號為ZR 210/001,機身重90kg,最大轉速35000rpm。
第二章 柴油機主要系統應急柴油發電機組是核電站廠內獨立的應急電源。當廠用工作電源和廠外備用電源同時失去時,柴油發電機組可以為應急廠用設備(按帶載程序自動地接上各個負荷,所帶設備有21臺泵、3臺制冷機組,具體是JPP2臺泵、RCV3臺泵、EAS2臺泵、RIS2臺泵、SEC4臺泵、ASG2臺泵、RRA2臺泵、RRI4臺泵、一回路穩壓器加熱裝置、3臺制冷機組、核島、常規島主要照明)提供電能及應急照明,在正常或事故工況下使反應堆安全停堆,以確保電站的核安全以及人員、環境的安全,并防止主要設備損壞。該機組不用來提供廠用尖峰負荷或其它非應急用電。MTU柴油機主要系統主要分為:燃油系統、潤滑油系統、冷卻水系統、進排氣系統、啟動空氣系統、儀表及控制系統。下面對各系統及主要設備進行簡要介紹:

1 高壓中冷器 7 低壓級廢氣渦輪增壓器
2 緊急切斷空氣閥 8 低壓中冷器
3 增壓空氣預熱器 9 支撐室 Carrier housing
4 進氣聯箱 10 渦輪機進氣彎管
5 排氣歧管 11 補償管
6高壓級廢氣渦輪增壓器
1.1進氣系統
描述:安裝在機體上的低壓級渦輪增壓機從進氣過濾器處吸氣,進氣被壓縮后流入下游的低壓中冷器進行冷卻后進入高壓級渦輪增壓器,進氣從高壓級渦輪增壓機出來后,進入高壓中冷器,增壓空氣預熱器和緊急切斷空氣閥安裝在空氣未進入進氣聯箱前的位置。廢氣的熱能被回收用以驅動壓氣機,用來控制渦輪增壓機開啟順序的進氣流量控制閥安裝在低壓渦輪增壓器壓氣機的進氣口處,當柴油機未啟動時,所有的進氣流量控制閥都是關閉的,在柴油機啟動后進氣流量控制閥會通過廢氣渦輪增壓機啟動順序控制系統根據柴油機的運行狀態進行啟閉。中冷器冷卻進氣的目的是使進入氣缸的空氣量增加,供給更多燃料燃燒所需的空氣,這樣就能在氣缸容積不變的情況下,增加柴油機輸出功率。增壓空氣預熱器是在柴油機啟動、空載或特殊工況下對進氣進行加熱,在這些工況下該熱量可以改善柴油機的運轉狀態。預熱器由壓力開關控制,當增壓空氣壓力達到限值時,預熱器關閉,在增壓空氣壓力下降時,預熱器自動投入運行。緊急切斷氣源閥安裝在預熱器與進氣聯箱相接處,用來緊急切斷氣源停車。進氣聯箱布置在機體的左右兩側,與各缸頭用彎管相連。
1.1.2排氣系統
描述:柴油機的排氣是通過彎管流入恒壓排氣室恒壓流道,恒壓排氣室內的排氣通過排氣流量控制閥引入高壓渦輪機做功,從高壓渦輪機中流出的廢氣以最短的路線被引入低壓渦輪機繼續做功,最后廢氣匯入排氣總管經排氣消音器排入大氣,恒壓排氣室和其冷卻管線一起安裝在柴油機V形夾角內。高低壓級廢氣渦輪增壓機在排氣室內呈90°排列,這樣排列的目的是將發熱元件集中排列便于冷卻,縮短排氣進入渦輪機的路線。The hot components are shielded from the liquid-cooled carrier housing of the exhaust turbocharger and form a gastight capsule construction.用以控制渦輪開啟順序的排氣流量控制閥安裝在高壓渦輪機前,在缸頭與恒壓排氣室之間接觸面處的波紋管及墊片,是為了抵消兩密封面的形位公差,保證密封效果。
1.1.3空氣過濾器(代碼:300/302/303/304/305/306FI)
|
技術參數:
制造商: Mann & Hummel
流動阻力:濾網未污染時為 6 mbar
空氣流量:每個濾芯100 m3/min
描述:該空氣過濾器為干式過濾器,用以過濾柴油機的進氣,三個過濾器垂直安裝在支架上。
運行:空氣從過濾器外側進入內側,通過進氣管線進入廢氣渦輪增壓機的壓氣機入口,這樣空氣中懸浮的微粒就被留在了濾芯上。
1.1.4高壓級中冷器(代碼:305/306RF)
|
技術參數:
制造商:Behr, Stuttgart
型號: KS 889
版本: 耐海水
運行參數:交叉流動模式
廠家測試壓力水側: 熱態下為水壓9.0 bar
大修水側試驗壓力: 壓縮空氣側壓力0.5 bar
描述:中冷器主要由冷卻器芯、兩個冷卻水箱和兩側蓋板組成,冷卻器芯又由兩部分組成包括散熱管和散熱片,散熱管安裝在管板上,金屬散熱片被壓裝在散熱管外側,側蓋板用以密封壓縮空氣,而水箱則用來密封冷卻器芯內的冷卻水,冷卻水箱內部設置了一個隔板將冷卻水的進水與出水分開,水箱、側蓋板以及冷卻元件用螺栓連接在一起并用密封帶進行密封。柴油機的低溫水從上圖所示的冷卻水入口進入中冷器,首先經過中冷器下部的散熱管,然后通過下游的冷卻水箱向上進入上部的散熱管線,最后從上游的冷卻水箱返回。
運行:增壓空氣沿垂直于散熱管線方向流過冷卻器芯,靠與散熱管及散熱片的對流換熱完成冷卻過程。
1.1.5低壓級中冷器(代碼: 300/301/302/303/304RF)
|
技術參數:
制造商: Behr, Stuttgart
型號: KS 889
版本: 耐海水
運行參數:交叉流動模式
廠家測試壓力水側:熱態下為水壓9.0 bar
大修水側試驗壓力:壓縮空氣壓力0.5 bar
描述:從技術參數的介紹中我們可以看出,該中冷器除大小與高壓中冷器不同外,其他部分基本完全相同這里不再敘述。
1.1.6緊急切斷氣源閥(代碼:300/301VA)
1 過渡段 11 轉軸
2 電磁閥 12 潤滑油注入孔
3 制動連桿 13 進氣聯箱
4 傳動杠桿 14 密封圈
5 連桿 15 閥座
6 限位開關 16 轉軸鎖緊裝置
7 閥瓣 17 推力銷
8 鍵 18 彈性元件
9 軸承 19 防護帽
10 密封圈
技術參數:
制造商:MTU, Friedrichshafen
描述:緊急切斷氣源閥用以在柴油機失控時防止引擎過熱。安裝在柴油機兩側的增壓空氣預熱器的連接管線過渡段部位,閥瓣安裝在由軸承襯套支撐的轉軸上,限位開關和電磁鐵位于閥體外側,加油嘴用以潤滑閥瓣軸承。
運行:當電磁部分接到控制系統的關閉信號時,電磁鐵通電,傳動連桿4解開連桿5處閥門限位鎖,空氣閥由重力自動關閉,從而截止進入氣缸的空氣。這種停機方式要比切斷燃料迅速,如果柴油機是通過切斷空氣停機,那么必須分析產生該停機信號的原因,在柴油機再次啟動時,要先將該閥門開啟,否則柴油機是無法啟動的。限位開關6用以監控緊急切斷氣源閥的位置。
手動控制:緊急切斷氣源閥也可以通過手動控制傳動連桿4進行緊急關閉,在動作左側(或右側)傳動連桿關閉緊急切斷氣源閥的同時,閥位信號傳遞給限位開關,限位開關又激活右側(或左側)的電磁鐵,將右側(或左側)的閥門關閉,并將信號傳遞給柴油機調速器處的電磁閥。
1.1.7疏水管線
技術參數:
制造商: MTU, Friedrichshafen
描述:疏水管線和截止閥安裝在高壓級增壓氣體管線以及低壓級中冷器固定支架上。引擎運行時,截止閥被來自渦輪啟閉順序控制系統的壓縮空氣保持關閉狀態,當引擎停運時,截止閥打開,將壓縮空氣冷卻時凝結下來的水排放出去。如果發現有大量水從該管線排出,那就說明對應的中冷器存在泄漏。
1.1.8 二級增壓
1 高壓級渦輪增壓機 3 蓄能器
2 進氣流量控制閥 4 排氣流量控制閥

1 進氣流量控制閥 6 去柴油機冷卻水預熱器的二位三通閥
2 蓄能器 7 閥塊
3 排氣流量控制閥 8 二位五通電磁閥
4 凝結水排放管線閥門
5 增壓空氣進氣管線
技術參數:
制造商: MTU, Friedrichshafen
閥門類型: 氣動
運行: 氣動—機械
動作氣壓: min. 4.5 bar
max. 7.0 bar
描述:渦輪啟閉順序控制系統主要控制渦輪機的進排氣流量控制閥,進排氣流量控制閥根據引擎的功率水平來開啟與其數量匹配的渦輪機數量,這樣可以使渦輪增壓機在最佳功率狀態運行,使增壓空氣的壓力更大并可以在部分功率運行時減少油耗。每一個渦輪增壓機組裝備有一組進排氣控制閥,用以控制相應渦輪增壓機的運行和停止,進排氣控制閥被蓄能器控制,蓄能器被一閥組控制,根據引擎運行狀態,渦輪啟閉順序控制系統控制在閥組內的二位五通電磁閥,使壓縮空氣進入蓄能器,從而打開進排氣流量控制閥,與此同時,疏水管線閥門被壓縮空氣驅動關閉。當電磁閥失電,進排氣流量控制閥關閉,渦輪增壓機停運。
1.1.9排氣消音器(代碼:300ZI)
|
技術參數:
制造商: Grünzweig & Hartmann, Friedrichshafen
型號: MF4530 MA06-106-1
聲衰減: 35 dB(A)
重量: 約 3670 kg
描述:火花和煙灰在渦流裝置內被分離,排煙管內部的葉片將刮掉排氣流過離心渦流裝置時留在其內壁上的燃燒殘余顆粒,在離心渦流裝置周圍布置有收集器,在不受排氣氣流影響的條件下將殘余顆粒收集起來,消音器的連接是以節流原理設計的,排氣通過橫截面積不變的鋼制孔板進入消音器,耐熱礦棉作為消音材料吸收排氣聲波的能量,其原理是在氣流經過礦棉時產生摩擦,將排氣的聲能轉化為熱能,從而降低噪音水平。
1.1.10增壓空氣預熱器(代碼:200/201EX)
1 冷卻水入口 6 水箱
2 冷卻水出口 7 換熱器座
3 水箱 8 換熱管
4 墊片 9 換熱片
5 隔板 10 側蓋板
技術參數:
制造商: Behr, Stuttgart
運行: 跨逆流模式
允許超壓值:水側:6.0bar
空側:4.5bar
維修后的實驗壓力:在冷卻水正常情況下為0.5bar
描述:散熱器核心部分由兩個主要部件組成,散熱管線和散熱片。散熱管安裝在管板上,由鋼金屬片組成的散熱片壓制在散熱管上,側蓋板密封熱交換器內的空氣,水箱則用來密封冷卻水,隔板是鑄造在水箱上的,用以將冷卻水分為進出兩部分,水箱、側蓋板和冷卻部件被螺栓連接成一個整體,其各個密封面由平墊片密封。柴油機冷卻水由冷卻劑入口進入上游水箱后,首先進入低位的半個熱交換器,然后經下游水箱進入上部冷卻水管,最后離開熱交換器。
運行:增壓空氣從散熱片中間流過熱交換器,吸收冷卻水的熱量
1.1.11供油設備
1 缸頭 7 高壓油管
2 噴油器 8 管套
3 燃料供油管線 9 回油管
4 噴油泵 10 潤滑油注入管線
5 推力墊 11 進油管
6 連接法蘭 12 燃料泄漏收集管線
描述:引擎的每個氣缸都有其各自的噴油泵,安裝在缸頭的右側,曲軸箱的上表面處。凸輪軸上的噴油控制凸輪通過挺桿和曲柄連桿機構控制噴油泵,挺桿與噴油泵上的球形凹槽相配合,柴油機潤滑油通過潤滑油注入管線10進入到噴油泵體內,潤滑噴油泵的曲柄連桿機構、球形凹槽和噴油泵體等,潤滑油首先潤滑曲柄連桿機構的軸承基座,然后通過曲柄連桿機構內部的油孔和挺桿流向較低的部位。高壓油管和缸頭內的燃料供油管設計成套管結構,將噴油泵和噴油器連接起來,噴油器安裝在缸頭上,泄漏的燃油通過鑄造在缸頭上的油孔流入燃料泄漏收集管線。
1.1.12 噴油泵
|
1 |
泵頂法蘭 |
10 |
壓縮彈簧 |
19 |
齒輪 |
|
2 |
出油閥 |
11 |
中間法蘭 |
20 |
閥座 |
|
3 |
密封圈 |
12 |
控制盤 |
21 |
泄壓閥 |
|
4 |
銷 |
13 |
中間環 |
22 |
過濾器 |
|
5 |
泵體 |
14 |
止動環 |
a |
燃料入口 |
|
6 |
擋板 |
15 |
挺桿 |
b |
燃油回流 |
|
7 |
柱塞套 |
16 |
球形凹槽 |
c |
燃油泄漏 |
|
8 |
柱塞 |
17 |
墊片 |
d |
潤滑油入口 |
|
9 |
彈簧座 |
18 |
承壓盤 |
e |
去噴油器 |
技術參數:
制造商: Bosch, Hallein
型號: PF1/0Y/240
描述:該噴油泵為機載柱塞泵,它根據柴油機的運行狀態,在準確的時間,將適量清潔有一定壓力的燃油通過噴油器霧化后送入汽缸進行燃燒,噴油泵的柱塞由凸輪軸上的噴油控制凸輪進行控制,調速器則通過轉動油門桿帶動噴油泵柱塞有效行程控制機構的曲柄連桿來轉動柱塞,進而控制柱塞的有效行程。泵體的上部布置有燃油吸入腔和為泵芯支撐用的垂直孔道,泵體的下部由壓縮彈簧孔道、彈簧座、承壓盤和帶著控制盤和球形凹槽的挺桿組成。布置有減壓閥、出油閥以及壓力油道的泵頂法蘭1安裝在泵體的頂端,中間法蘭11安裝在泵體的最底端,用以導向噴油泵的挺桿。挺桿由柴油機潤滑油系統潤滑。泵芯由柱塞和柱塞套組成,柱塞和柱塞套是精密偶件,失效時必須同時更換,燃油的進回油孔、燃油泄漏回收孔以及潤滑油孔都布置在柱塞套上,柱塞的末端呈凸緣狀,用以和控制盤12的內孔配合。潤滑油連接管線上布置有過濾裝置,柱塞部分的潤滑油來自于閥動機構的滑油系統。
噴油泵的運行:

最大供油量時柱塞的位置:1、2、3
部分供油量時柱塞的位置:4、5
供油量為0時柱塞的位置: 6
噴油泵的柱塞位置是由凸輪軸通過曲柄連桿機構和挺桿不斷運動來控制的,挺桿套筒上的彈性元件保證挺桿、曲柄連桿機構和凸輪軸的持續連接狀態,噴油泵按螺旋控制法則運行,柱塞上部邊緣是直的,用以決定供油開始的時間,柱塞下部邊緣是螺旋狀的,用以決定供油結束的時間,為防止在柱塞的端面處存在受力不均,柱塞的上下邊緣的位置為相對稱的,以平衡軸向力。當柱塞的位置如圖1時,柱塞上部的空間充滿著燃油,且此時進回油口相連,柱塞未給燃油壓力,供油未開始;當柱塞繼續上行,柱塞的上邊緣將進回油孔關閉(如圖2、4),供油階段開始,柱塞壓縮燃油,使燃油壓力高于出油閥的開啟壓力,此時燃油從出油閥流出進入噴油器,直至柱塞上行至其下邊緣高于回油孔時(如圖3、5),油壓通過回油口釋放,出油閥關閉,供油結束;當柱塞轉動到如圖6的位置時,柱塞的上部油腔與回油口總是相連,因此無論柱塞如何運動,都不會給噴油器供油。泵的燃油入口處擋板(如噴油泵零件6)的作用是防止燃油長期沖擊柱塞套,造成柱塞套的腐蝕。Baffle screws are installed in the pump housing in the area of the pump element transverse bores to prevent erosion at the housing.
1.1.13燃油泵的出油閥和減壓閥
|
描述:被柱塞泵加壓后的高壓燃油頂起出油閥閥瓣進入通往噴油器的高壓油管,減壓閥保持關閉。在供油過程結束時,出油閥關閉,減壓閥打開降低高壓油管內的壓力,其目的是使噴油器的針閥迅速關閉,避免發生滴油現象。
運行:在柱塞的下邊緣打開回油口的瞬間,油壓迅速降低,高壓油管內的高壓油以及出油閥的彈簧共同作用,關閉出油閥,這樣高壓油管中的壓力就會繼續維持在一定的范圍,直至下次供油沖程開始。
1.1.14 噴油器
1 高壓進油管 10 彈簧
2 套管螺母 11 噴油器體
3 密封圈 12 彈簧支撐
4 定位銷 13 墊片
5 內襯 14 噴油器壓塊
6 針閥鎖緊螺母 15 壓緊螺釘
7 密封圈 16 針閥座
8 噴嘴 17 針閥
9 頂針
技術參數:
制造商: Bosch, Stuttgart
噴嘴型號: KBA 137 U5
針閥開啟壓力: 400 bar +8 bar,
特殊工況壓力:380 bar, 維修后最小試驗壓力
320 bar, 柴油機磨合試驗最小開啟壓力
噴孔型號: DLZ 160 UV 323 5233
噴孔數量:6
噴射夾角:160°
孔徑: 0.72 mm
描述:噴油器是被壓塊壓裝在缸頭上,它將噴油泵輸送來的燃油噴入汽缸。噴嘴上均勻分布六個小孔,噴嘴由針閥和針閥座組成,針閥和針閥座是一對精密偶件,不能單獨使用,在失效時要一起更換,針閥靠其頂部的錐形面密封,針閥體沿其圓周方向均布六個小噴孔,用以將燃油霧化后噴入汽缸。鎖緊螺母6將噴嘴鎖緊在墊片上,把墊片壓緊在其后側的平面上。
運行:針閥被頂針9處的彈簧壓緊在針閥座上,彈簧彈力的大小決定著針閥的開啟壓力,燃油從噴油器以及針閥體內部的管線進入針閥,當燃油壓力克服了彈簧的彈力時,針閥上行,燃油噴入氣缸。噴嘴由從針閥與針閥體之間泄漏的燃油潤滑,這部分泄漏的燃油通過頂針上部的泄油孔進入高壓油管套管,后沿鑄造在缸頭上的油道回到泄漏燃油回收管線。

1 雙聯式燃油過濾器 10 泄壓閥
2 缸頭 11 燃油泵
3 噴油器
4 噴油泵 a 燃料入口
5 高壓油管 b 燃料回油
6 事故泄漏監測管線 c 去泄漏油儲存箱
7 泄漏監測單元
8 泄漏油箱 E 排氣閥
9 燃油手搖泵 R 逆止閥
描述:燃油泵安裝在柴油機的自由端,由曲軸通過齒輪系驅動,它從燃油預過濾器處泵取燃油并通過限壓閥和燃油過濾器將燃油送入高壓油泵中,高壓油泵在調速器和凸輪軸的驅動下通過高壓油管和噴油器將適量燃油噴入氣缸,安裝在高壓油泵上的回油管將多余的燃油經回油熱交換器冷卻后送回日用油箱,在回油管線中設有定壓0.5bar的逆止閥R,用以維持噴油泵高效運行所需壓力。噴油泵和噴油器的泄漏油通過泄漏回收管線收集。噴油器以及管線內部的漏油都經高壓油管套管回流至泄漏油儲存箱,每個儲油箱上都布置有探測器和溢流管,探測器用以探測泄漏量,而溢流管則是在儲油箱滿時將燃油溢流至主泄漏油收集管線。在柴油機停運時,可用手搖泵將燃油充滿燃油管路,手搖泵與燃油泵共用一個進出油管。燃油管線排氣閥安裝在柴油機驅動端進油管處,左右兩側各有一個,用以將燃油系統內的氣體排出。
2.1供油系統
1 手搖泵 13 滾子軸承
2 逆止閥 14 齒輪
3 手搖泵輸送方向 15 凸輪軸驅動惰轉齒輪
4 中間法蘭
5 燃油泵 A 手搖泵
6 溢流燃油 B 限壓閥
7 溢流閥 C 燃油泵
8 燃油泵輸送方向 D 燃油泵驅動
9 限壓閥
10 輸出軸 a 燃料出口
11 深溝球軸承 b 燃料入口
12 中間軸
描述:燃油泵組件、限壓閥、手搖泵和燃油泵驅動機構組成柴油機的輸油設備,其中燃油泵、限壓閥和手搖泵是一個整體組件,它們通過油道相連,燃油的流動方向由安裝在組件內部的溢流閥、回流閥和逆止閥控制,燃油泵由齒輪系通過輸出軸10和中間法蘭4進行驅動,中間軸12由一個深溝球軸承和滾子軸承支撐,深溝球軸承是定位軸承,滾子軸承為浮動軸承,用以吸收軸向竄動,各軸承由卡環定位,輸出軸10插在中間軸12上,并與燃油泵軸相連,燃油泵的潤滑油從壓力保持閥經孔道和瀑流潤滑軸承。
運行:在柴油機運行時,燃油從進油口經限壓閥9流向下游管線進入過濾器,如果燃油壓力高于限壓閥的開啟壓力,限壓閥開啟將大部分燃油送回輸油泵入口,從而限定燃油系統內的壓力。在柴油機停機用手搖泵送油時,手搖泵從進油口取油將燃油送入限壓閥的壓力側,從而進入下游管線。
2.1.2泄漏燃油儲存箱(代碼:102BA)
|
技術參數:
制造商: MTU, Friedrichshafen
描述:泄漏燃油存儲箱的作用是收集泄漏的燃油。泄漏的燃油通過管線流入泄漏燃油儲存箱,當箱體內液位達到其限值時,布置在箱體上的液位監測系統將觸發電動回油泵將燃油送回日用油箱,液位隨之下降,當液位到達低位限值時,該監測系統發出信號關閉回油泵。
2.1.3泄漏燃油儲存箱(代號:100/101BA)
|
技術參數:
制造商: MTU, Friedrichshafen
描述:泄漏油儲存箱主要收集從高壓油管套管內流出的泄漏油,液位傳感器用來向柴油機監測系統發出警報。
2.1.4 燃油泵(代號:124PO)
1 油泵出口 8 定位銷
2 蓋板 9 驅動齒輪
3 油泵入口 10 泵體
4 卡環 11 從動齒輪
5 密封圈 12 監測孔
6 油封 13 密封圈支撐
7 軸承法蘭 14 傳動軸
技術參數:
制造商: Werdohler Pumpenfabrik
型號: R 35/50 FL-V-SO
流量: 100 L/min
入口壓力:0.4 bar
背壓:2 bar
轉動方向:從驅動端看為順時針
描述:燃油泵為機帶齒輪泵,泵體、軸承法蘭和端蓋用螺栓連接成一整體并由密封圈密封,軸承法蘭7通過兩個彈簧銷定位在泵體上,該泵的兩個齒輪是完全相同的并與轉軸構成一個整體,驅動軸的端部做成齒輪狀,由軸承和端蓋支撐,在軸的驅動端有兩道油封,用以密封轉軸,該油封由卡環定位,其密封面相對,兩道油封間布置有監測孔,用以觀察是否有燃油泄漏現象。由此可見,內部的油封用以密封泵內燃油,外部油封用以在內側油封泄漏的情況下防止燃油泄漏進入曲軸箱。
運行:當柴油機運行時,兩齒輪相互嚙合,將燃油從泵的進油口輸送到出油口。在進油口位置,兩齒輪相背旋轉,在入口處形成負壓,吸入燃油;在出口位置,兩齒輪相對旋轉,擠壓燃油使其壓力增, 加,進入下游管線。
2.1.5手搖泵(代碼:100PO)
1 泵罩 10 墊圈
2 泵體 11 卡環
3 銷 12 出油
4 膜片支撐 13 進油
5 拉力彈簧 14 逆止閥
6 搖桿 15 活塞
7 墊圈 16 墊片
8 定位銷 17 隔膜
9 逆止閥
技術參數:
制造商: MTU, Friedrichshafen
流量:每100沖程6—7升
入口壓力: 0.8 bar
出口壓力: 4.0 bar
描述:手搖泵是一個隔膜泵,當搖動搖桿時,隔膜完成吸入和壓縮沖程。在吸入沖程,隔膜被拉出,導致隔膜內側出現小范圍真空,燃油經入口逆止閥進入泵體;在壓縮沖程,隔膜被推入,將燃油擠壓升壓后,通過出口逆止閥送入下游管線。手搖泵使用完畢后,將搖桿壓入并用拉力彈簧將其固定。
2.1.6燃油轉運泵(代碼:102/103PO)
|
技術參數:
制造商: Speck
泵型號: T N U 40 Li La
轉速: 1400 rpm
傳輸率: 根據不同的運行狀態,見附表
電機制造商: Combimac
電機型號: 432E24-45
電機轉速: 1400 rpm
模式: 3/PE, 380 V, 50 Hz
輸出功率: 2.5 kW
保護: IP 54
轉向: 從驅動端看向左
泵體重:約 14 kg
描述:燃油轉運泵是齒輪泵,由聯軸器與電機相連,泵軸由軸承支撐,軸承通過泵內的燃油潤滑,驅動軸由軸封密封,泵出口側裝有限壓閥,用以防止泵超壓。
運行:其原理與燃油泵完全相同,這里不再敘述。
2.1.7燃油預過濾器(代碼:100FP)
1 蓋子 6 疏水旋塞
2 密封圈 7 連接法蘭
3 吊環 8 隔離閥
4 過濾器殼 9 燃油入口
5 濾網 10 燃油出口
技術參數:
制造商: Mann & Hummel, Speyer
型號: 61 604 82 132
濾網精度: 0.063 mm
描述:燃油預過濾器為雙聯過濾器,安裝在燃油泵的入口管路上游,其下部布置有換向隔離閥,用以隔離雙聯濾網中的一個。燃油從濾網的外側經內側流過過濾器,燃油中的雜質被留在了濾網的外側,過濾下來的雜質被收集在過濾器下部的收集腔內,在柴油機運行時,若要對濾網進行清潔或更換,可以通過搬動換向隔離閥,將某個濾網隔離。
2.1.8燃油過濾器(代號:100/101FF)
1 蝶形螺母 11 旋塞
2 中心螺栓 12 中心管
3 蓋帽 13 彈簧
4 密封環 14 彈簧座
5 罩子 15 濾芯
6 手柄 16 外殼
7 控制軸 17 排氣管
8 燃油入口 18 溢流閥
9 燃油出口 19 節流孔
10 排油管線
技術參數:
制造商:Knecht, Stuttgart
過濾器型號: FB 775/1
專利號: EK 405 E2
試驗壓力:9 bar
描述:雙聯式燃油過濾器安裝在柴油機自由端上部,裝備有換向隔離閥。燃油從濾芯外側經內側流過濾芯,燃油中的雜質被留在了濾網的外側并收集在過濾器的底部,通過轉動三通的控制軸7,可以隔離任意一個過濾器,以便在柴油機運行的情況下,更換或清洗濾網。燃油過濾器的排氣管17總是打開的,燃油將從該管經過濾器頂部的節流孔19流入回油管,最后回到日用油箱,節流孔將防止燃油的大量泄漏。
2.1.9限壓閥
1 限壓閥 7 從手搖泵來
2 旋塞 8 中間襯墊
3 去手搖泵 9 卡環
4 去燃油系統 10 從輸油泵來
5 溢流閥 11 閥體
6 逆止閥 12 去輸油泵
技術參數:
制造商:MTU, Friedrichshafen
開啟壓力:溢流閥 2.5 bar +0.5 bar
開啟壓力:逆止閥 0.5 bar +0.2 bar
描述:限壓閥由法蘭連接在燃油泵和手搖泵的中間,其內部由逆止閥和溢流閥組成,經過泵增壓的燃油通過逆止閥6至限壓閥的出口,從而進入各噴油泵。當燃油壓力達到溢流閥5的開啟壓力,燃油壓力克服彈簧的彈力將閥門頂開,將燃油引回到燃油泵的入口;當燃油泄壓后,彈簧將閥瓣壓回閥座,關閉溢流閥。逆止閥的主要作用是防止泵出口處燃油倒流,損壞燃油泵。
2.1.10回油熱交換器(代碼:100EX)
1 承壓板 A 燃油入口
2 管板 B 燃油出口
3 支撐板 C 低溫水入口
D 低溫水出口
技術參數:
制造商:Alfa Laval
型號: M6-FG
描述:回油熱交換器為板式熱交換器,其冷卻水來自于增壓空氣冷卻水系統(低溫水系統)將回油冷卻至規定的溫度。它主要由承壓板、兩根導向桿和支撐板組成。管板通過壓緊螺栓緊緊的壓裝在承壓板和支撐板之間,以保證其對冷卻水的密封效果。管板的核心部分是由帶溝槽的平板組成,其數量取決于要求冷卻功率的大小。管板的方向按照流體的流向來安排,管板內的冷卻水被管板間的側墊片隔開,在邊緣處采用雙層密封,雙層密封之間的那部分空腔,用以將泄漏的液體沿著側墊片上的泄露槽排放出來。回油以十字交叉的形式通過管板,將其熱量傳遞給每一層管板內的冷卻水,從而將回油冷卻下來。
2.1.11冷卻水泵(代碼:200/201/202PO)
1 增壓空氣冷卻水泵(低溫水泵)
2 柴油機主冷卻水泵(高溫水泵)
柴油機載有兩個主冷卻水泵和一個增壓空氣冷卻水泵,這些泵安裝在柴油機自由端,由曲軸通過齒輪系驅動。
2.1.12主冷卻水泵(代碼:200/201PO)
1 蝸殼 10 驅動齒輪
2 O形環 11 圓柱滾子軸承
3 葉輪 12 鎖緊螺母
4 機械密封 13 鎖緊螺母
5 密封環支撐 14 Counterring
6 軸封 15 金屬環
7 角接觸球軸承 16 O形環
8 軸承室 17 入口法蘭
9 泵軸
技術參數:
制造商:MTU, Friedrichshafen
描述:主冷卻水泵為離心泵,其葉輪和驅動齒輪預先壓制在泵軸上,泵軸靠一角接觸球軸承和一圓柱滾子軸承支撐,軸承為浸沒潤滑,因此其軸承室內的油位由飛濺油保持在一定的高度上,潤滑油由軸封6密封,冷卻水則由機械密封4密封,在兩道密封間布置有查漏孔,如果在該孔處有液體流出則說明機械密封或油封處有泄漏。
2.1.13增壓空氣冷卻水泵(代碼:202PO)
1 泵體 10 圓柱滾子齒輪
2 中間法蘭 11 軸承室
3 密封圈 12 角接觸球軸承
4 Counterring 13 密封圈支撐
5 機械密封 14 葉輪
6 油封 15 葉輪鎖緊螺母
7 鎖緊螺母
8 驅動齒輪 a 增壓空氣冷卻水入口
9 泵軸 b 增壓空氣冷卻水出口
技術參數:
制造商: MTU, Friedrichshafen
描述:增壓空氣冷卻水泵為離心泵,葉輪和驅動齒輪為預先壓制在泵軸上,泵軸靠在軸承室內的一個雙列角接觸球軸承和一個圓柱滾子軸承支撐,該泵(除大小型號外)與主冷卻水泵結構和運行方式完全相同,在這里不再敘述。
2.1.14預熱水泵(代碼:203PO)
技術參數:
制造商: WILO AG, Dortmund
型號: Top-D 50 3~ PN 6/10
電機參數: 3/PE, 380 V, 50 Hz
額定電流: 0.2 A
功率因數: 0.62 cos ph
額定輸出: 73 W 到 86 W
轉速: 1150 rpm 到 1400 rpm
保護: IP 44
接線盒: IP 55
描述:預熱水泵為離心泵,由電機直接驅動。泵和電機被設計成一體的,電機類型為濕式電機,即其轉子的所有部分都處于其運送介質包圍中,用其介質潤滑支撐在軸承上的轉軸。
柴油機冷卻水系統分為兩個獨立的循環系統,即主冷卻水系統和增壓空氣冷卻水系統。
3.1主冷卻水系統
1 渦輪增壓機支撐 13 恒壓流道
2 增壓空氣預熱器 14 配送腔
3 從增壓空氣預熱器來 15 過濾器
4 去增壓空氣預熱器 16 柴油機主冷卻水泵
5 去恒壓流道 17 溫控閥
6 換向閥 18 去風冷器
7 配送腔 19 從風冷器來
8 來自B側冷卻水主流道 20 去B側冷卻水流道
9 從電加熱器來 21 去電加熱器
10 缸頭
11 A側主冷卻水流道
12 缸套
描述 - 預熱:該柴油機的冷卻劑為淡水,預熱管線布置在柴油機的左側(從自由端看),在柴油機停機時由電加熱器對冷卻水進行加熱,預熱有利于柴油機的瞬時啟動,防止燃油凝結、潤滑油殘留在燃燒室以及冷啟動磨損等情況的發生。預潤滑泵從溫控閥的前端吸取冷卻水并將加熱后的冷卻水從驅動端注入引擎,一部分冷卻水流過缸頭和缸套,剩余的則通過驅動端配送腔7經控制閥進入增壓空氣預熱器,兩路冷卻水匯集到恒壓流道中經自由端配送腔14回到電加熱器。電加熱器前后各布置有一個截止閥,用以隔離電加熱器。
描述 - 冷卻:在引擎運行的時,主冷卻水由兩臺泵驅動,將冷卻水送入引擎兩側的主冷卻水管線,并經過該管線進入冷卻腔室和驅動端的配送腔。冷卻缸套及缸頭的冷卻水從缸套下部進入缸套冷卻水腔,然后向上經過鑄造在缸頭上的冷卻水孔道進入缸頭,冷卻缸頭、氣閥導向和排氣管道,每個缸頭的冷卻水最終進入到恒壓流道。而進入到驅動端配送腔的冷卻水中的一部分,經過增壓空氣預熱器后進入恒壓管道與缸頭冷卻水匯合后冷卻三個渦輪增壓機組支撐,最后經自由端配送腔回到溫控閥。溫控閥的開度由水溫決定,從而將冷卻水引入風冷器或直接引回冷卻水泵入口,膨脹水箱設置在冷卻水系統的最高點,通過排氣管線和膨脹水管與冷卻水系統相連,膨脹水箱的呼吸閥在冷卻水系統達到一定壓力時打開,在膨脹水箱的下面,布置有凝結水收集容器,用以收集呼吸閥流出的凝結水,這部分凝結水不再被回收,運行人員可以將該容器內的水清理干凈。在冷卻水系統的最低點還布置有排水閥。
3.1.1增壓空氣冷卻水
1 增壓空氣冷卻水泵 6 低壓級中冷器
2 從增壓空氣冷卻水風冷器來 7 高壓級中冷器
3 去柴油機驅動端 8 增壓空氣預熱器
4 油水熱交換器 9 從增壓空氣冷卻水泵來
5 去增壓空氣冷卻水風冷器
描述:在引擎運行時,帶動增壓空氣冷卻水泵給冷卻水循環提供動力,該冷卻水由一根主管線直接從水泵出口引入到引擎驅動端進入左右兩側的高壓及低壓中冷器,回油熱交換器安裝在主管線的外側,由主管線內部的冷卻水進行冷卻,熱交換器前后管段各有一個截止閥用以隔離熱交換器。冷卻水經過中冷器后進入左右兩側的出口集水管后進入油水熱交換器冷卻潤滑油,最后匯集到一根母管內送入風冷器或回到冷卻水泵入口。疏水管線安裝在低壓中冷器以及油水熱交換器處,高壓中冷器處的排氣孔用以將中冷器內部氣體排入左右兩側主流道的內部。(中冷器內的氣?)膨脹水箱安裝在增壓空氣冷卻水系統的最高位置,用膨脹管線和排氣管與系統相連,當系統內壓力超過某一限值時,呼吸閥開啟。疏水閥和充水閥安裝在系統內最低點,在膨脹水箱的下部同樣布置有一個收集箱,用以收集呼吸閥流出的凝結水,該水同樣需要運行人員進行排出。
3.1.2膨脹水箱(代碼:200/201BA)
|
技術參數:
容積:約 250 L
重量:空罐時約 100 kg
描述:膨脹水箱的主要作用是補償由于溫度升降所引起的冷卻水容積的變化,排出冷卻水系統內的氣體以及監測冷卻水位等。膨脹水箱靠膨脹管線和排氣管與冷卻水系統相連,由其頂部的呼吸閥密封。視窗主要用以觀察冷卻水的液位,另外,在水箱頂部的液位檢測器同樣可以監測出冷卻水位。
3.1.3呼吸閥(代碼:208/209VC)
1 吸入閥 2 呼出閥
技術參數:
制造商: Längerer & Reich, Stuttgart
呼出開啟壓力: 0.2 bar +0.05 bar,
吸入開啟壓力: 0.10 bar,
描述:呼吸閥主要作用是密封冷卻水系統,補償膨脹水箱的壓力變化。當冷卻水被冷卻時,水箱內部出現微負壓,在負壓達到限值時吸入閥開啟,平衡水箱內壓力;當冷卻水被加熱時,水箱內將出現正壓力,在壓力達到呼出閥開啟限值時,呼出閥開啟,排出水箱內氣體;在極限情況下,冷卻水膨脹過多,冷卻水將從該閥排出。
3.1.4電加熱器組件(代碼:202RS)
1 加熱器法蘭 5 冷卻劑入口
2 冷卻水出口 6 疏水旋塞
3 預熱水箱 7 疏水閥
4 排氣旋塞 8 電纜孔
技術參數:
制造商: IBS Industrieanlagen Hilden
輸出功率: 30 kW
電源型式: 3/PE, 380 V, 50 Hz
加熱極限: 95 °C
容積:約19.5L
描述:電加熱器組件用以加熱柴油機冷卻劑,改善柴油機冷啟動條件。加熱器法蘭安裝在預熱水箱3上,電加熱元件安裝在電加熱器法蘭側,疏水旋塞和排氣旋塞安裝在預熱水箱殼體上,用以疏水和排氣,此外在殼體下部還安裝有疏水法蘭,冷卻水從入口進入,經電加熱元件加熱后從冷卻水出口送出,進入機體。在柴油機運行時,電加熱器停運。
3.1.5風冷器(代碼:200RS)技術參數:
制造商: GEA, F-62410 Wingles, France
容積:主冷卻水系統約 2*366 L
增壓空氣冷卻水系統約 2*514 L
重量:凈重約17448 kg
描述:風冷器為風扇式冷卻器,它是由幾個部分組成的一個整體。冷卻器核心部分由管束組成,冷卻水經管束進入風冷器,風扇將冷的空氣吹入到風冷器葉片中,從而將冷卻水溫度降低下來。
3.1.6逆止閥(代碼:223VC)
1 起吊環 4 閥體
2 閥瓣軸承 5 閥瓣
3 密封環 6 壓力平衡孔
技術參數:
制造商:Keystone Armaturen
型號: 85-BRZ
溫度范圍:-40 °C到+130 °C
描述:該逆止閥由閥體和閥瓣組成,安裝在預熱管道法蘭連接處,閥體由青銅制成,在其頂部有一起吊環,閥瓣坐落在閥體的中心,閥瓣為懸掛式設計,其轉軸在閥座上部,在自然狀態下閥瓣靠重力坐落在閥座上,閥瓣上布置有圓形凹槽,凹槽內放置有布納氮材料制成的O形圈,在閥瓣的下部開有壓力平衡孔,用以補償閥瓣兩側壓力。
運行:如果管道內無介質流動,閥瓣靠自重落在閥座上;當介質從閥門正方向流入時,介質的壓力將閥瓣頂起,介質正常通過閥門;當介質反方向流到閥門處時,閥瓣被介質壓緊在閥座上,介質則被截止。
3.1.7溫控閥(代碼:200/201AJ)
1 端蓋 12 螺紋襯套
2 閥體 13 鎖緊螺栓
3 傳動銷
4 彈簧 A 冷機時
5 卡環 B 運行時
6 滑閥
7 溫敏元件 a 從柴油機中來
8 后端蓋 b 去主冷卻水泵
9 螺紋襯套 c 去風冷器
10 導向環 d 從風冷器來
11 密封環
技術參數:
制造商: MTU, Friedrichshafen
開啟溫度: 75 °C
全開溫度: 90 °C
描述:在柴油機運行時,溫控閥控制主冷卻水的流向以保證柴油機冷卻劑迅速達到預定溫度并維持在該溫度范圍,該閥安裝在柴油機冷卻劑管線的出口與主冷卻水泵的連接法蘭處,其控制機構包括溫敏元件和滑閥,滑閥安裝在驅動腔室內,溫敏元件安裝在滑閥的內部,由端蓋上的傳動銷定位,溫敏元件內部裝有熱膨脹液體,根據溫度的變化改變自身的體積,該體積的變化被傳遞到滑閥上,從而將冷卻水引向相應的管線,滑閥在運動后靠彈簧力恢復。在柴油機停機時,溫控閥將通向風冷器的管道關閉,把冷卻水直接引入主冷卻水泵入口;而一旦溫度達到溫控閥開啟壓力,溫敏元件動作改變滑閥位置使部分冷卻水進入風冷器,減少進入主冷卻水泵入口通道的閥門開度;當溫控閥全開時,主冷卻水便全部流向風冷器進行冷卻。
3.1.8潤滑油泵
1 主潤滑油泵 2 閥座潤滑油泵
KGS = 自由端 KS = 驅動端
油泵概述:柴油機裝備有兩個主潤滑油泵、一個閥座潤滑油泵、一個預潤滑泵、一個排油泵和一個潤滑油輸送泵。主潤滑油泵安裝在柴油機自由端,由曲軸通過齒輪系驅動。閥座潤滑油泵安裝在柴油機驅動端,由驅動端右側凸輪軸通過聯軸器驅動。半回轉手搖泵(在哪?)是在電動泵失效時,用來給柴油機運送潤滑油的。預潤滑泵、排油泵以及潤滑油輸送泵都未安裝在柴油機體上。
3.1.9主潤滑油泵(代碼:150/151PO)
1 軸承蓋 9 調整墊片
2 泵齒輪 10 彈簧
3 泵體 11 閥門導向
4 軸承襯套 12 閥門支撐
5 泵軸 13 閥門
6 驅動軸 14 泄壓閥
7 鎖緊板 15 鍵
8 螺栓
技術參數:
制造商: MTU, Friedrichshafen
流量:2475rpm 時約 10.25 L
限壓閥:開啟壓力 16 bar
轉動方向:順時針
描述:主潤滑油泵為雙齒輪式泵,泵體和端蓋由輕金屬鑄造,青銅軸承襯套壓裝在泵體和軸承蓋內,泵體和端蓋由螺栓連接,驅動端泵齒輪為熱裝在軸上,非驅動端泵齒輪則為插裝。泵軸驅動齒輪壓裝在錐形軸肩上,通過油槽潤滑軸承。限壓閥安裝在泵體下部,當油壓超過限值時,該閥開啟將潤滑油引回泵中。
3.1.10泄壓閥
|
技術參數:
制造商: MTU, Friedrichshafen
開啟壓力: 16 ± 1.0 bar
描述:泄壓閥又稱安全閥,安裝在油泵出油孔處,該閥主要由閥瓣、閥座、閥門導向、壓縮彈簧和螺母等組成。安裝在閥門導向上的閥瓣由壓縮彈簧的彈力壓合在閥座上,閥頭由螺母定位。
運行:壓力油從閥體內側作用在閥瓣上,當壓力超過壓縮彈簧的整定壓力時,閥門打開,將潤滑油引回泵入口,直至油壓降低后,彈簧再將閥瓣壓回到閥座上。
3.1.11閥座潤滑油泵(代碼:152PO)
1 定位銷 8 進油口
2 渦輪 9 泵驅動
3 活塞 10 轉速計軸驅動(用詞?)
4 泵體 11 A出口
5 定位銷 12 彈簧
6 調節螺釘 13 B出口
7 蝸桿
技術參數:
制造商: Joseph Vögele AG, Mannheim
型號: SP/G02/30 A35
流量: 在主機1600rpm時每個出口處1.43cm3/min
供油壓力:最大 7 bar
背壓:最大 7 bar
運行溫度:最高 80 °C
描述:閥座潤滑油泵將潤滑油噴入助燃空氣,用以減少進氣閥的穴蝕。該泵由泵體、帶轉速計軸的蝸桿、有控制孔道的活塞和流量調節裝置。渦輪上設計有擺動盤,泵軸由凸輪軸驅動,通過渦輪和蝸桿的配合給活塞同時傳遞回轉運動和提升運動。通過回轉,活塞從控制孔吸入潤滑油,交替通過出油口A和B;而提升運動則是將滑油泵入增壓空氣區域。提升運動是靠渦輪完成的,壓蓋上的銷用以保證渦輪的安全,調節螺釘限制活塞的行程,從而控制泵的流量,活塞下部布置有彈簧用以平衡調整螺釘和銷子的壓力,調整螺釘上布置有凸緣結構,由彈簧銷5對其限位。
The oil pump for valve seat lubrication supplies engine oil in drops to the combustion air thus reducing pitting at the
inlet valves.
The pump consists of a housing, worm gear with connection option for a tachometer shaft, plunger with control ports and a delivery rate adjustment device.
The worm gear is attached to the plunger and has a wobble plate design.
The pump is driven from the engine camshaft. The worm gear initiates a rotary and
lifting movement of the plunger.
With the rotary movement, the plunger controls the oil flow via its control ports, alternating through outlet A and B.
The lifting movement of the plunger serves to pump the oil to the charge air manifolds.
The lift movement is caused by the worm gear (wobble plate), which slides with one of its flanks on a pin secured in
the housing cover.
The adjusting screw limits the plunger stroke travel and is used to set the pump delivery rate.
The plunger is placed under spring pressure against the pin and adjusting screw.
The adjusting screw is knurled. A spring-loaded pin engages in the knurling and locates the adjusting screw.
3.1.12預潤滑泵和排油泵(代碼:153PO和155PO)
|
技術參數:
制造商: Rickmeier GmbH, Balve
泵型號: MZ2-0311-426512/2
轉速: 1410 rpm
輸油量: 68 L/min
進口壓力: 0 bar (-0.4…+0.4 bar)
開啟壓力: 5.5 bar(泵的什么壓力?)
限壓: 7.5 bar
電機制造商: Combimac
型號: 433K24-45
轉速: 1410 rpm
額定參數: 3/PE, 380 V, 50 Hz
輸出功率: 1.5 kW
保護: IP 55
轉向: 從引擎驅動端看向左
泵重:約 39.5 kg
描述:預潤滑泵和排出泵為相同型號的齒輪泵,通過聯軸器由電機驅動。泵軸(包括驅動齒輪和從動齒輪)由泵體和泵蓋上的軸承襯套支撐,襯套由循環中的潤滑油強制潤滑,驅動軸由軸封密封,限壓閥的作用是防止泵超壓。
運行:該齒輪泵與其他齒輪泵工作原理相同,這里不再敘述。
3.1.13潤滑油輸送泵(代碼:154PO)
|
技術參數:
制造商: Rickmeier GmbH, Balve
泵型號: MZ2-0311-426512/2
轉速: 1400 rpm
流量: 3.3L/min
電機制造商: Combimac
電機型號: 432E24-45
轉速: 1400 rpm
額定參數: 3/PE, 380 V, 50 Hz
輸出功率: 0.25 kW
保護: IP 54
轉動方向: 從引擎驅動端看向左
泵重:約 14 kg
描述:除功率、轉速、流量等參數與預潤滑泵不同外,該泵的工作原理與預潤滑泵完全相同,這里不再多加敘述。
柴油機主潤滑油系統是一個強制潤滑系統,細分為三個子系統:油溫控制系統、運動件潤滑系統和閥動裝置潤滑系統。另外,還包括預潤滑系統和閥座潤滑系統等。
4.1油溫控制系統
1 去主潤滑油泵 4 去油水熱交換器的潤滑油
2 從主潤滑油泵出來的壓力油 5 從油水熱交換器出來的潤滑油
3 潤滑油回路溫控閥 6 去滑油過濾器參加循環的潤滑油
描述:主潤滑油泵從承油盤吸取潤滑油,通過齒輪箱內部的主油道將潤滑油送往布置在柴油機自由端齒輪箱上的配送腔,潤滑油從配送腔中進入溫控閥,溫控閥根據溫度將潤滑油引入油水熱交換器或直接送入位于配送腔前部的主潤滑油過濾器,部分滿足條件的潤滑油經過活塞冷卻油過濾器過濾后經主潤滑油過濾器殼體和壓力保持閥殼體進入活塞冷卻油系統;余下的潤滑油經配送腔和齒輪箱進入壓力保持閥體,然后進入運動件潤滑油系統和閥動機構潤滑系統為運動件和閥動機構提供潤滑,主潤滑油過濾器和油水熱交換器上布置有永久排氣管線,逆止閥150/151/152/153VH和限流器用以防止潤滑油大量流失,避免柴油機停機時空氣滲入潤滑油路。
4.2運動件潤滑油系統
1 渦輪增壓機潤滑油壓測量點 6去主軸承壓力油
2 減壓閥 7壓力保持閥 (閥動裝置潤滑油系統)
3 去閥座潤滑油泵 8 蓄能器
4 去軸瓦 9 閥腔(壓力保持閥)
5 運動件油道 10 從潤滑油過濾器來
描述:從油溫控制系統來的潤滑油經壓力保持閥腔9進入調速器、燃油泵驅動端和蓄能器150CO用以啟動注入并作為控制油經管線進入減壓閥178VH。潤滑油通過齒輪箱內的油道經壓力保持閥腔9進入曲軸箱內的運動件油路。在柴油機驅動端,部分管線從運動件油路中吸取潤滑油送往閥座潤滑油系統和高壓廢氣渦輪增壓機。潤滑油從運動件油路中布置的向下的小孔潤滑主軸承,并通過曲軸內部的潤滑油道潤滑曲柄銷和曲軸減震器。潤滑油在主軸承和軸頸處潤滑各軸承。潤滑過軸瓦后的潤滑油經飛濺潤滑活塞套。在減震器中,潤滑油潤滑并冷卻了彈簧片。調速器則由一根插在壓力保持閥腔內的油管和其連接法蘭供油。泄漏的無壓潤滑油通過齒輪箱回到承油盤,燃油泵驅動端的潤滑油是經壓力保持閥腔9通過瀑流提供。送往廢氣渦輪增壓機的潤滑油通過驅動端連接腔進入,逆止閥156VH、減壓閥155VH和蓄能器151CO安裝在該管線內,以確保渦輪增壓機機啟動階段的供油,渦輪增壓機部分的潤滑油通過增壓機支撐內部的油道、恒壓流道支撐以及柴油機V形角內的插入管線回到承油盤。帶節流器的排氣管線安裝在潤滑油進油管的末端,用以持續排出廢氣渦輪增壓機潤滑油進油管內的氣體。
4.2.1主潤滑油過濾器(代碼:150/151FF)
1 棘輪手柄 10 過濾器前油壓
2 收集腔 11 減壓閥
3 排油閥
4 運動件和閥動機構的邊緣型潤滑油濾芯 a 從活塞冷卻系統來的潤滑油
5 濾芯 b 去右側主潤滑油過濾器
6 分離器管 c 從右側主潤滑油過濾器來
7 過濾器體 d 活塞冷卻油出口
8 過濾器蓋 e 運動件和閥動機構潤滑油出口
9 過濾器后油壓 f 潤滑油入口
技術參數:
過濾器制造商: MTU, Friedrichshafen
濾芯制造商: Knecht, Stuttgart
減壓閥開啟壓力:2.5 bar
濾芯型號: AF 33
過濾精度:約0.01 到 0.03 mm
流量:約 5 L/s
邊緣式過濾器型號:Z.10
過濾精度: 0.05 mm
流量:約 5 L/s
柴油機潤滑油過濾器安裝在柴油機自由端上側,過濾器內裝有兩個為運動件和閥動裝置過濾潤滑油的濾芯,在過濾器頂部布置有永久的排氣管線。
描述:潤滑油從底部進入過濾器,由濾芯5外側向內側經分離器管向上進入過濾器蓋8,過濾器蓋內鑄有流道,將潤滑油引入分離器,分離器內布置有邊緣式濾芯4,潤滑油從該濾芯外側向內側經濾芯過濾后,從過濾器底部流出。若外側的濾芯被污物堵塞,減壓閥11開啟,將潤滑油從過濾器蓋上的旁路,直接引入邊緣式過濾器,但是此情況會大大降低過濾器效率,故應盡快清理或更換濾芯,為了監測過濾器的狀態,在柴油機監測系統內布置有測量過濾器前后壓力的儀表,在儀表壓力異常時應盡快處理。過濾器下部布置有油污收集腔,用以收集油污等雜質。在與減壓閥相同高度的位置布置有疏水閥,該閥可以使潤滑油經減壓閥腔室排泄,其作用是為排出油污收集腔內收集的運動件和閥動裝置潤滑油過濾器內的污泥等。
4.3閥動裝置潤滑油系統
1 缸頭 9 帶過濾器的接頭
2 搖臂支撐 10 搖臂軸承插管
3 搖臂軸 11 噴油泵搖臂
4 排氣搖臂 12 挺桿套筒
5 進氣搖臂 13 去右側凸輪軸
6 減震器 14 分配腔
7 挺桿 15 壓力保持閥
8 噴油泵潤滑油入口管
描述:從油溫控制系統來的潤滑油開啟閥腔內的壓力保持閥157/158/159VH通過曲軸箱油道進入鉆有潤滑油孔的凸輪軸,潤滑油通過凸輪軸內油路潤滑凸輪軸軸承以及凸輪軸減震器,搖臂潤滑油從凸輪軸軸承處經曲軸箱內油道、凸輪軸蓋板缸頭和搖臂支撐等部位供應,這部分潤滑油完成對搖臂軸承的潤滑后通過搖臂內部的孔道進入搖臂球形凹槽和氣閥間隙調整螺釘,進入球形凹槽的潤滑油順挺桿向下潤滑挺桿套筒組件(滾柱挺桿)后回到承油盤。噴油泵驅動機構的潤滑油來自于各自對應的凸輪軸軸承,經曲軸箱內的油道、凸輪軸蓋板和插入管線,最后通過凸輪軸蓋板外側的一條管線注入噴油泵。
4.4活塞冷卻油系統
1 從活塞冷卻油過濾器來 6 去活塞冷卻油道
2 去潤滑油過濾器 (從油溫控制系統來) 7 去熱交換器
3 潤滑油溫控閥 8 從熱交換器來
4 活塞冷卻油過濾器 9 活塞冷卻油道
5 壓力保持閥 10 活塞飛濺油
描述:從油溫控制系統出來的潤滑油經活塞冷卻油過濾器154FF后進入安裝在配送腔內的壓力保持閥157/158/159VH,當開啟壓力達到,該壓力保持閥打開,潤滑油通過曲軸箱內部的活塞冷卻主油道進入活塞冷卻油噴嘴,該噴嘴將壓力潤滑油從活塞裙下部的孔道噴入活塞頭與活塞裙間的冷卻油腔,油腔內的潤滑油經連桿小端上的油孔潤滑活塞銷后回到承油盤。
4.4.1活塞冷卻油過濾器:
|
技術參數:
供應商: Mann &. Hummel, Ludwigsburg
過濾精度: 0.009 mm
允許工作壓力: 20 bar
描述:活塞冷卻油過濾器是懸浮式過濾器,過濾器由螺栓固定在連接件2上并以密封圈密封。如果濾芯的堵塞,安裝在潤滑油過濾器上的旁通閥將未過濾的潤滑油直接引到過濾器下游。從主潤滑油過濾器流出的未過濾的潤滑油通過連接件上的孔道進入活塞冷卻油過濾器,潤滑油從濾芯外向內滲入,從而將懸浮在潤滑油內的微粒留在濾網上,過濾后的潤滑油被引回至主潤滑油過濾器,并從主潤滑油過濾器處將活塞冷卻油注入系統。
4.5閥座潤滑油系統1 噴油嘴 2 進入右側助燃空氣油路
3 閥座潤滑油泵 4 進油管
5 進入左側助燃空氣油路
描述:閥座潤滑油泵安裝在柴油機驅動端右側,由右側凸輪軸經聯軸器驅動,閥座潤滑油泵從運動件潤滑油系統吸收潤滑油,將潤滑油經噴嘴噴入助燃空氣管線,被噴嘴霧化后的潤滑油與助燃空氣混合后流過進氣閥,從而潤滑進氣閥座,減少閥座磨損和穴蝕。
4.6預潤滑系統1 渦輪增壓機潤滑油壓力測量點 7 去調速器的壓力油
2 壓力保持閥 (閥動機構潤滑系統) 8 閥套
3 蓄能器 9 壓力保持閥 (活塞冷卻油系統)
4 預潤滑泵
5 壓力保持閥(切斷旋塞) R 逆止閥
6 磁盤過濾器
描述:預潤滑泵安裝在柴油機自由端左側,其作用是在柴油機未啟動狀態下,建立潤滑油壓力。預潤滑泵通過一個逆止閥162VH從主潤滑油泵的進油管處吸取潤滑油,其中少部分潤滑油經過磁盤過濾器6進入調速器;剩余的潤滑油經過壓力保持閥160VH(如圖5)進入主潤滑油系統。當該壓力保持閥打開時,潤滑油經過油水熱交換器和主潤滑油過濾器對齒輪系統和運動件進行潤滑,潤滑油從運動件內部的油道進入曲軸、連桿等部件的結合面上,并通過驅動端的連接腔進入逆止閥150/151/152/153VH和蓄能器150CO。節流逆止閥161VH安裝在蓄能器上,油壓較低時,潤滑油可以通過閥瓣中間的節流孔通過該閥,從而使通往渦輪增壓機的管線內充滿潤滑油,該節流逆止閥安裝在管線的末端,以保證管線的排氣并限制預潤滑條件下管線內的壓力,使潤滑油無法通過安裝在增壓機支撐上的179/180/181/182/183/184/185/186/187/188VH進入渦輪增壓機。潤滑油通過壓力保持閥室低位油腔進入蓄能器,在柴油機啟動瞬間,啟動空氣激勵蓄能器,使蓄能器內的油進入調速器,保證調速器打開至啟動油門的位置。一旦柴油機啟動,主潤滑油泵立即接管機體的潤滑,此時,預潤滑泵入口逆止閥R的作用是防止油倒流,造成預潤滑泵反轉。在調速器性能試驗時,切斷旋塞5用來切斷從壓力保持閥5進入主潤滑油系統的油路,使潤滑油直接進入調速器,從而使調速器在沒有接到柴油機啟動信號的情況下,調整油門至啟動位置。
4.6.1磁盤過濾器(代碼:152FF)1 過濾器殼體 5 旋塞
2 磁盤片 6 螺母
3 蓋子 4 密封圈 7 卡環
技術參數:
制造商: Mann & Hummel, Ludwigsburg
型號: 61 400 72 121
過濾面積:約 270 cm2
濾芯精度:0.06 mm
試驗壓力:25 bar
描述:磁盤過濾器安裝在機體自由端,用以過濾部分預潤滑油。潤滑油進入過濾器殼體內后,由磁盤片外側進入內側,從而將潤滑油內的雜質留在磁盤片外,過濾下來的油泥收集在過濾器下部的蓋子3內。
4.6.2油水熱交換器(代碼:150/151EX)1 殼體 10 密封圈支撐
2 排氣旋塞 11 蝶形墊片
3 油道 12 密封圈
4 密封圈
5 散熱板 a 冷卻水入口
6 墊片 b 冷卻水旁路
7 安全孔 c 冷卻水出口
8 蓋子 d 潤滑油出口
9 中間法蘭 e 潤滑油入口
技術參數:
制造商: MTU, Friedrichshafen
廠家試驗壓力:熱水條件下,水側 9.0 bar
熱油狀態下,油側 25 bar
檢修試驗壓力: , 油側空氣打壓 0.5 bar
描述:油水熱交換器與高溫水系統相連,用以冷卻柴油機潤滑油。三個冷卻管板核心元件橫排并聯安裝在殼體內部,在蓋子安裝上以后,冷卻核心元件通過蝶形墊片11固定在殼體上,密封圈12將油和水分離開來,油水過濾器蓋子8的內部設計有泄漏收集管,在油或水發生泄漏時可以通過安全孔7排出。從潤滑油泵出來的潤滑油從底部進入熱交換器,經油道進入冷卻管板核心,在管板中將熱量傳遞到冷卻水。冷卻水從進口法蘭a處進入,將潤滑油的熱量帶走。部分冷卻水直接從旁路通過熱交換器,殼體上設有永久的排氣管線,用以排出熱交換器內氣體。
4.6.3壓差調節閥(代碼:151LP)1 控制油連接 6 閥體
2 安全孔 7 閥桿
3 泄漏油連接 8 過濾器后油道
4 旋塞 9 固定螺栓
5 彈簧 10 過濾器前油道
1 控制油
2 油泄漏管線
3 滑閥
4 閥體
5 彈簧
6 端蓋
P1 P1 過濾器前油壓
P2 P2 過濾器后油壓
技術參數:
制造商: Fa. MTU Friedrichshafen
保護定值: 1.5 bar + 0.5 bar
描述:壓差調節閥用以監測過濾器前后壓力的變化,向操作人員提示及時更換濾芯。閥道內的A側承受來自P1側油的壓力,B側承受來自P2側油和彈簧壓力的合力,當壓差增大即P1側的油壓高于P2側油壓與彈簧壓力的合力時,閥桿向P2側移動,控制油路打開,直到P1側壓力低于P2側壓力后,閥桿回復其初始位置。
4.6.4減壓閥(代碼:155VH)1 閥體 a 去其余的渦輪增壓器
2 滑道 b 柴油機潤滑油入口
3 彈簧 c 去基本的渦輪增壓器
技術參數:
制造商: MTU, Friedrichshafen
供油壓力: 8 bar
初始壓力: 3.2 bar 到 3.6 bar
描述:該減壓閥安裝在柴油機潤滑油系統中,用以將高進給壓力降低到較低的初始壓力。潤滑油穿過該閥門后從出口a/c流出,如果潤滑油供油壓力超過彈簧的彈力較多,滑閥將向上移動直至作用在滑閥上的油壓與彈簧的彈力達到平衡為止,這樣滑閥中部的控制油孔的進油橫截面將隨著滑閥的上升而減小,從而降低初始壓力。
4.6.5減壓閥(代碼:154VH)1 潤滑油出口 7 壓縮彈簧
2 閥體 8 泄油孔
3 逆止閥 9 油封
4 針閥 10 潤滑油入口
5 密封圈 11 節流孔
6 活塞
技術參數:
制造商: MTU, Friedrichshafen
預設壓力: 4.1 bar
描述:該減壓閥安裝在潤滑油系統調速器上,其作用是將高進口油壓降低到較低的出口壓力。潤滑油經過該閥體流到其出口處,在此過程中,部分潤滑油通過閥體內的油道和針閥4進入活塞6的承壓面,當入口油壓大于彈簧預設值與出口油壓之和時,彈簧被壓縮,活塞向右移動,增加潤滑油入口流道面積,使出口處的油壓上升;此時,通過針閥4進入活塞承壓面的潤滑油壓上升,彈簧壓力和出口油壓的合力大于入口油壓,活塞向左移動,入口處流道面積恢復,最終達到調整出口油壓的目的。活塞的往復振動由油封9衰減,且在活塞往復振動的過程中,逆止閥3和針閥4根據活塞的運動狀態完成開閉過程,將油吸入或排出。
4.6.6安全閥(代碼:178VH)
|
技術參數:
制造商: MTU, Friedrichshafen
開啟壓力: 6 bar + 0.2 bar
描述:該安全閥浸潤在活塞冷卻油中,位置在柴油機齒輪箱的左側,它由過濾后的運動件潤滑油壓力控制,作用是控制運動件潤滑油系統內的油壓。當運動件潤滑油系統內壓力高時,潤滑油作用在滑動襯套上的壓力大于彈簧預緊力,襯套向左滑動,將泄放孔道打開,使活塞冷卻油通過曲軸箱流回承油盤,從而減小運動件潤滑油過濾器的負荷。在泄放孔道打開的瞬間,控制油管內的油壓下降,在彈簧力作用下滑動襯套向右將泄放孔道關閉,該閥動作過程完成,由潤滑油泵供給的全部潤滑油又重新進入各自的系統。
4.6.7壓力保持閥體(代碼:157/158/159VH)1 螺栓 M16x1.5 12 端蓋
2 螺栓 M18x1.5 * 13 齒輪箱
3 螺栓 R 1/2" 14 低位油腔
4 螺栓 M18x1.5 15 去蓄能器的潤滑油
5 螺栓 M12x1.5 ** 16 端蓋
6 蓄能器 17 從潤滑油過濾器來
7 去調速器的潤滑油 18 高位油腔
8 去運動件的潤滑油 19 去輸油泵驅動端的潤滑油
9 去閥動機構的潤滑油
10 壓力保持閥 * Oil to pressure limiting valve at V 956
11 閥體 ** Oil to cylinder bank cutout at V 1163
技術參數:
制造商: MTU, Friedrichshafen
連接件: M12x1.5 / M16x1.5 / M18x1.5 / R1/2"
開啟壓力: 1.5 bar
描述:布置有測溫測壓元件的壓力保持閥體安裝在齒輪箱上,它將來自于主滑油過濾器的潤滑油送往運動件潤滑油系統;通過壓力保持閥將部分潤滑油引入閥動裝置潤滑油系統;通過瀑流將潤滑油引入燃油泵驅動軸承室。壓力保持閥用以建立預潤滑油的壓力并防止在預潤滑狀態下過多的潤滑油進入閥動裝置中。帶偏心孔的盤片和間距控制環在瀑流內呈橫向排列,當潤滑油流過盤片時,潤滑油交替穿過盤片中央的偏心孔,盤片的排列方式減少了進入燃油泵軸承室內的潤滑油體積和壓力。
4.6.8壓力保持閥(代碼:160VH)
|
技術參數:
制造商: Fa. MTU Friedrichshafen
型號: RS 25/3/60/s
開啟壓力: 3.0 bar
描述:該閥兼備壓力保持、逆止和截止的作用,其具體作用可以通過方形手柄4控制凸輪2的位置。當凸輪處于正常位置時,彈簧推動滑動套筒5壓緊控制凸輪,在油壓達到彈簧整定壓力時閥門開啟,使閥瓣克服彈簧力向上運動,潤滑油從入口經閥內流道不可逆的流向出口;如果控制凸輪移向測試位置時,彈簧被凸輪壓縮,此時彈簧給閥瓣提供較大壓力,使閥門關閉。在此過程中,必須通過方形手柄控制凸輪在測試位置,否則在彈簧力和滑動襯套的作用下,凸輪將自動回到正常狀態。
4.6.9加壓閥 (代碼:157/158/159VH)
|
技術參數:
制造商: Fa. MTU, Friedrichshafen
開啟壓力: 1.5 bar
描述:加壓閥安裝在配送腔內,它由閥體、閥瓣和彈簧組成。閥瓣和彈簧由閥體支撐,彈簧襯套安裝在閥桿上由調整螺母固定,閥門的開啟壓力由調整螺母進行調整。
運行:潤滑油從閥體內的孔道進入閥頭并在閥頭處建立壓力,當該壓力達到閥門開啟壓力,閥瓣向右運動,將潤滑油送入下游活塞冷卻油道;當油壓降到閥門開啟壓力以下時,閥門在彈簧力作用下關閉。
|
技術參數:
制造商: MTU, Friedrichshafen
開啟壓力: 0.15 ±0.05 bar
描述:該逆止閥安裝在潤滑油道中,以防止潤滑油倒流。閥瓣由導向銷4導向,導向銷由滾花組件3的右側表面支撐并由接頭7定位。壓縮彈簧靠圓盤6支撐,將靠其回復力將閥瓣壓緊在閥座上,閥座處由塑膠墊片和呈90°的閥瓣共同密封。
運行:當潤滑油從正方向流入閥門時,閥座被油壓頂起向壓縮彈簧的方向開啟,此時,潤滑油可以正常通過該閥門;當潤滑油從反方向流入閥門時,彈簧力和潤滑油壓力共同作用將閥瓣壓緊在閥座上,此時,潤滑油被截止。
4.6.11逆止閥 (代碼:179/180/181/182/183/184/185/186/187/188VH)
|
技術參數:
制造商: MTU, Friedrichshafen
開啟壓力: 0.23 bar ± 0.03 bar
描述:該逆止閥安裝在潤滑油道中,保證潤滑油不倒流。閥瓣由安裝在滾花接頭1右端面上帶導向銷的墊片4導向,由連接螺母5壓緊固定。彈簧右側支撐在帶導向銷的墊片上將閥瓣壓緊在閥座上,閥座處由密封墊片和錐形閥瓣共同密封。
運行:該逆止閥與其他逆止閥工作原理完全相同,這里不再敘述。
4.6.12限流器逆止閥(代碼:161VH)
|
技術參數:
制造商: MTU, Friedrichshafen
開啟壓力: 8.5 bar
節流孔徑: 0.7 mm
描述:該閥門與其他逆止閥相比在于其閥瓣內布置有橫向、縱向兩個節流孔,在正常情況下,潤滑油從該小孔流過閥門;當進口油壓升高并達到逆止閥開啟壓力時,逆止閥打開,使潤滑油直接穿過閥門;而當油壓恢復時,閥瓣在彈簧力作用下回座,潤滑油仍通過閥瓣內的節流孔流向閥門的下游。
4.6.13潤滑油系統溫控閥(代碼:150/151AJ)1 油水熱交換器 9 閥腔
2 去油水熱交換器 10 油配送腔
3 從油水熱交換器出 11 從潤滑油泵來
4 滑閥 12 去潤滑油過濾器
5 溫敏元件 13 從潤滑油過濾器來
6 調節螺釘 14 去主潤滑油道
7 螺紋 15 活塞冷卻油通道
8 端蓋螺母
技術參數:
制造商: MTU, Friedrichshafen
開啟溫度: 75 ± 2 ℃
全開溫度: 87 ± 2 ℃
描述:潤滑油系統溫控閥的作用是控制潤滑油的流向,以保證在柴油機運行時,潤滑油溫度迅速上升并維持在一定的溫度水平。溫控閥安裝在油水熱交換器上游的潤滑油配送腔內,它由滑閥、溫敏元件和調節螺釘組成,溫敏元件內部裝有熱膨脹性液體,可以根據溫度的變化改變體積,體積的變化被傳遞到滑閥上,致使潤滑油進入對應的管道。滑閥由彈簧的彈力復位,當潤滑油溫度低時,去油水熱交換器的油道被關閉,潤滑油直接進入過濾器;當潤滑油達到運行溫度時,溫敏元件控制滑閥位置,使部分潤滑油進入油水熱交換器,相應進入過濾器的潤滑油就會減少;當溫敏元件全開時,去過濾器的油道被關閉,潤滑油全部進入油水熱交換器。
5.1啟動系統(引擎逆時針轉動)1 啟動空氣管線 5 去蓄能器
2 控制空氣管線 6 主壓縮空氣管線
3 啟動閥 7 壓縮空氣
4 右側缸頭 8 啟動空氣分配器
描述:柴油機配備壓縮空氣啟動系統。安裝在柴油機自由端和驅動端各有一個啟動空氣分配器250/251DR,各自由左右兩側的凸輪軸驅動,空氣分配器根據發火順序通過啟動閥620-639VA將啟動空氣送入氣缸。為了能夠正常啟動柴油機,壓縮空氣管線內的截止閥必須打開且管線內的壓力要達到啟動要求。若柴油機接到啟動信號或啟動開關關閉,預潤滑泵停運,壓縮空氣罐前的電磁三通閥250/251VA電流回路閉合,250/251VA開啟,壓縮空氣到達二位三通控制閥250/251EL使該閥開啟,壓縮空氣進入啟動空氣分配器,啟動閥,渦輪增壓機潤滑油蓄能器和調速器蓄能器。壓縮空氣通過250/251EL的一條管線流過逆止閥292/293VA和自動節流器252EO進入壓縮空氣進氣管線。增壓機蓄能器的作用是對增壓機進行強制潤滑,調速器蓄能器的作用是迅速推動調速器,使其快速開啟到啟動油門位置。啟動空氣分配器的作用是將作為控制氣體的壓縮空氣引到做功沖程開始缸的啟動閥,啟動閥被控制氣體的壓力開啟,壓縮空氣進入氣缸,強制活塞向下,與此同時,分配器又將控制氣體送入下一氣缸的啟動閥,如此往復不斷增加曲軸轉速,直至柴油機啟動。柴油機啟動成功后,啟動過程終止,電磁三通閥250、251VA關閉,去二位三通閥250/251EL的控制氣體排出。在壓縮空氣進入電磁三通閥之前,部分壓縮空氣被引入渦輪增壓機控制系統。系統內布置有減壓閥257/258VA以限制壓力。在渦輪增壓機后側彎管處的供氣管線中,安裝有安全閥(開啟壓力4.7bar),以防止超壓。作為空氣啟動系統的冗余,在電磁啟動系統失效時,還可以手動緊急啟動。
5.1.1電磁三通閥(代碼:250/251VA)1 電磁閥和連接器 A 啟動空氣
2 緊急手動控制 E 電子驅動
3 閥體 H 緊急手動控制
4 活塞 P 壓縮空氣
R 啟動空氣排出
技術參數:
制造商: Fa. Danfoss Industrieautomatik GmbH, Korntal-Münchingen
型號: EV344B 20B 34F NC100
最大開啟壓力: 40 bar
描述:該電磁三通閥用以密封和排空啟動空氣管線,由閥體和先導閥組成,閥體內包含一控制閥桿,控制活塞4由壓縮空氣驅動,帶有緊急手動控制裝置的先導閥由電磁閥控制,電磁閥在不通電情況下處于自然位置,此時壓縮空氣和彈簧一起控制先導閥,壓縮空氣進入控制活塞腔室并作用在活塞上,在彈簧彈力和壓縮空氣壓力的共同作用下,使活塞上部的密封圈壓緊在閥座上,關閉壓縮空氣行進管線并排空啟動空氣管線。當電磁閥通電,電磁力克服彈簧的彈力將活塞向上提起,先導閥開啟,壓縮空氣管線打開。在電磁閥故障情況下,該三通閥可以手動打開。
5.1.2二位三通閥(代碼:250/251EL)1 鎖閉手柄 11 閥蓋
2 手柄桿 12 滑動推桿
3 活塞推桿 13 限位開關
4 活塞 14 密封圈
5 閥體 15 排氣閥
6 彈簧
7 限位凸緣 A 系統空氣
8 閥桿 P 壓縮空氣
9 閥瓣 R 排氣
10 導向襯套 Z 控制空氣
技術參數:
制造商: Mannesmann Rexroth
開啟壓力:最大 40 bar
描述:該二位三通閥由壓縮空氣直接驅動并包括一個緊急手動控制裝置。該閥的上半部分為操作部分,下半部分為控制部分,在自然狀態下,上半部分的活塞和下半部分的閥瓣在彈簧壓力的作用下向上壓緊,與閥座密封,關閉壓縮空氣進入系統管線的同時通過閥瓣中間的排氣閥排出系統內的空氣,當控制空氣從Z處進入閥體上部,活塞被向下推動,關閉排氣閥,推動下半部分的閥瓣離開閥座,從而壓縮空氣得以進入系統。在控制氣體切斷前,該閥始終保持開啟狀態,在控制氣源切斷時,壓縮彈簧將閥瓣重新壓緊在閥座處,閥桿向上,開啟排氣閥將系統內的空氣釋放,閥瓣在壓縮空氣的壓力下緊緊的密封在閥座上,增加了密封壓力,將壓縮空氣通向系統的管線關閉。該閥上半部分設計作用為緊急手動控制,在操作前,先要將鎖閉手柄1向上搬動,然后下壓手柄桿開啟該閥,壓縮空氣進入系統,在松開手柄后,閥門關閉,此時要將鎖閉手柄搬回原位置,以防止誤碰。限位開關安裝在該閥的一側,用于監測閥門的狀態。
5.1.3啟動空氣分配器(代碼:250/251DR)
|
技術參數:
制造商: Nova-Werke AG
描述:在柴油機啟動時,啟動空氣分配器按柴油機發火順序將壓縮空氣引入做功沖程始點對應缸的啟動閥,分配器由分配器管線、分配盤、驅動軸和軸承等組成。分配盤上有一梯形孔,通過該孔與某一缸的啟動閥接通將控制空氣送入啟動閥,啟動閥開啟,壓縮空氣進入汽缸,推動活塞向下運動。分配盤由曲軸帶動旋轉,使分配盤的缺口對準下一缸的啟動閥,當柴油機啟動成功后,啟動程序結束,控制空氣氣源切斷,分配盤與接觸面分離,在分配器內自由旋轉,分配器內的排氣孔將通向啟動閥的管線內的殘余氣體排出。
5.1.4啟動閥(代碼:620—639VA)1 滾花壓蓋 9 彈簧
2 密封圈 10 螺母
3 閥體 11 聚四氟乙烯環
4 活塞 12 密封環
5 密封圈
6 缸頭
7 閥桿 A 控制空氣
8 導向套 B 壓縮空氣
技術參數:
制造商: MTU, Friedrichshafen
閥門升程: 約 7 mm
描述:該啟動閥為活塞控制的逆止閥,安裝在缸頭上,由閥體、閥桿、活塞和彈簧等組成。該閥由閥體內的導向套導向,彈簧由導向套和活塞支撐,活塞安裝在閥桿上并由螺母緊固。彈簧迫使活塞向上并使閥瓣壓緊在閥座上。控制氣體與壓縮空氣之間由密封圈和聚四氟乙烯環密封,控制空氣入口管安裝在滾花壓帽上。
運行:壓縮空氣通過缸頭上的一條管線作用在閥頭上,當控制空氣進入活塞腔時,活塞被向下推動,閥門打開,壓縮空氣流入汽缸。若控制氣體中斷,活塞腔內的氣體排空,彈簧的回復力將活塞向上推動,閥門關閉。
5.1.5 安全閥
|
技術參數:
制造商: MTU, Friedrichshafen
開啟壓力: 4.75 bar
描述:該閥由閥體、滑閥和閥蓋組成,安裝在高壓增壓空氣進氣聯箱入口。閥體由螺栓固定在管道外側,閥體底部的密封圈用以密封閥座,閥瓣由兩個導向帶支撐,彈簧安裝在滑閥內側與閥蓋之間并將滑閥壓緊在閥座上,彈簧壓力由彈簧與滑閥之間的間隙調節裝置調整,在起機時,如果進氣管線內壓力過大,滑閥被進氣壓力推向右側,安全閥打開將部分氣體排出;當管路內壓力降低到安全閥開啟壓力以下時,彈簧回復力將閥門關閉。
5.1.6逆止閥(代碼:292/293VA)1 壓縮空氣入口 5 閥蓋
2 閥瓣 6 閥體
3 閥門導向 7 壓縮空氣出口
4 彈簧
技術參數:
制造商:KSB AG
型號: NORICHEM RYA
公稱壓力:PN 40
公稱直徑:DN 50
工作壓力:max. 40 bar
開啟壓力:0.2 bar
描述:逆止閥由閥體和閥瓣組成,安裝在壓縮空氣管線上,其閥體上的箭頭用以標示內部介質的流動方向。閥瓣傾斜安裝在閥體內,由閥蓋上的閥門導向控制,安裝在閥瓣和閥蓋之間的彈簧將閥瓣壓緊在閥座上,閥蓋由加工在閥體上的凹槽準確的定位在閥瓣的中心線上并由螺栓緊固。
運行:當介質按正方向流過該閥時,介質壓縮彈簧使閥門開啟,介質正常通過閥門;當介質反向流動時,閥座被彈簧力和介質壓力共同壓緊在閥座上,從而阻止介質倒流。
5.2停機系統1 調速器 2 停機桿
1緊急關閉氣源閥 2電磁鐵
柴油機停運:柴油機可以由停運開關或監測系統關閉。在接到停機命令后,調速器的電磁回路將中斷,壓縮彈簧將調速器調整到停機位置使供油中斷,燃油注入停止后柴油機自然關閉。
緊急停機:若電子停機系統故障,柴油機還可以通過調速器手動停運。
超速保護或電子停機開關:在出現超速等情況時,除調速器外,還可以通過緊急切斷氣源閥切斷助燃空氣停機。出現事故時,緊急切斷氣源閥的電磁閥關閉切斷氣源,但在再次啟動柴油機前,必須將該閥開啟。
柴油機安裝在減振器的上方,減振元件安裝在曲軸箱的左右兩側。柴油機發電機也同樣坐落在減震振裝置上。
6.1 主機彈性底座
|
技術參數:
制造商: MTU, Friedrichshafen
描述:柴油機由固定架、彈性元件和機座鋼板等組成的柴油機基礎支撐,固定架由螺栓安裝在曲軸箱上,機座鋼板則由螺栓連接在柴油機基礎上,彈性元件的橡膠塊安裝在固定架和機座鋼板之間,振動和沖擊在由橡膠塊和金屬組成的彈性元件處被削弱,減少傳遞到柴油機基礎上的振動量,每個彈性元件上的橡膠塊定位螺釘的作用是防止過大的振動量造成彈性元件的損壞。
6.2 機座框架1 軸承架 4 固定件
2 擋板 5 機座鋼板
3 錐形元件
技術參數:
制造商: MTU, Friedrichshafen
描述:軸承架由螺釘安裝在底座上,機座鋼板由螺栓安裝在柴油機基礎上,固定件和彈性錐形元件安裝在機座鋼板之間,擋板由錐形件支撐,錐形件將本應傳遞到柴油機基礎上的部分振動和沖擊吸收,尤其是在柴油機啟動和停運的瞬間,減震非常重要。這些錐形元件自身靠橡膠材料制成的擋板作為緩沖器來降低振動。
7.1壓縮空氣供應系統1 壓縮空氣罐 7 安全閥
2 支架 8 入口閥
3 壓力監測 9 壓力表
4 壓力開關(壓縮機啟動信號)(與現場不符) 10 壓縮空氣管線輸水閥
5 壓力開關(壓縮機停機信號) 11 壓縮空氣罐輸水閥
6 主閥 12 壓力計接頭
總述:壓縮空氣供應系統為集成度較高的系統。每臺柴油機布置有兩套互為冗余的壓縮空氣系統,用以儲存壓縮空氣的三個空氣罐平行臥式安裝在支架上,罐子整體為圓柱狀,其末端為圓弧形,入口處裝有主隔離閥門6,由螺栓固定在罐子上。壓縮空氣由空壓機產生,經進氣管線逆止閥和入口閥進入壓縮空氣儲存罐,在柴油機啟動時,壓縮空氣從主閥6流出并通過出口逆止閥進入啟動空氣系統,出口逆止閥的作用是防止空氣從一個氣罐進入另一個氣罐,進氣管線內的逆止閥的作用則是在壓縮機停機時防止氣罐內的壓縮空氣倒流回壓縮機內。每個氣罐底部裝有一疏水閥11并通過管線連接到疏水總閥10處,用以排出氣管內的凝結水。主閥上布置有安全閥7,其作用是防止氣罐超壓。每個氣罐的主閥處布置有壓力表,用以顯示氣罐內的壓力。壓力開關4和5的作用分別是根據氣罐出口總管內壓力的變化,自動控制空壓機的啟停。
7.1.1電磁閥(代碼:300/301EF)
|
技術參數:
制造商: Elektroteile GmbH, Oberuhldingen/Bodensee
型號: A 07 02 001 04
電壓: 24 VDC ±20 %
額定電流: 1.42 A
保護: IP 65
張力: 59 N
描述:當電磁閥被激勵,該銜鐵被電磁力作用向殼體動作,復位彈簧被拉伸,復位彈簧安裝在電機殼體的封閉端,當電磁鐵失電時,銜鐵被彈簧回復其初始位置。導向桿的自由端由機械設備附屬機構的螺紋孔支撐,橋式整流器安裝在連接端子和盤片中間,在電機極性接反的情況下迅速關閉,并在電磁閥失電時產生感應電流。
7.1.2自動限流器(代碼:252EO)1 中間墊塊 6 O環
2 閥體 7 控制孔
3 壓力彈簧 8 壓縮空氣入口
4 滑閥 9 襯套
5 去引擎的壓縮空氣 10 滑閥導向環
技術參數:
制造商: MTU, Friedrichshafen
開啟壓力:最大 40 bar
控制氣體:啟動空氣
描述:自動限流器由閥體、閥蓋、滑閥和壓縮彈簧組成,用以自動控制氣體流量。滑閥由活塞導向環密封并被壓縮彈簧控制在其初始位置。
運行:空氣進入自動限流器后來到滑閥控制的狹窄橫截面處,與此同時,空氣經過入口處的控制孔7進入滑閥右側空腔,此時滑閥處于壓縮彈簧和空氣壓力兩個力的控制下,從而決定閥門的開度,控制空氣流量。
7.1.3減壓閥(代碼:257/258VA)1 安全閥 2 控制彈簧
3 膈膜 4 入口閥
E 通風孔
技術參數:
制造商: MTU, Friedrichshafen
開啟壓力: 40 bar
工作壓力: 6 bar
描述:該減壓閥的作用是將較高的進口壓力降低到較低水平,其工作過程是通過控制彈簧2控制閥門開度得以實現的。壓縮空氣從P側進入到A側壓力降低,在此過程中,壓縮空氣通過膜片下部的連接口進入到膜片左側,當氣體壓力達到控制彈簧的整定壓力時,入口閥4開啟將阻塞從P到A的氣體通道,A側氣體的壓力降低,降壓后的氣體又重新進入膈膜左側進行反饋,如此往復直至A側氣體壓力達到預設壓力為止。安全閥1的作用是防止A側氣體超壓。
7.1.4二位三通電磁閥(屬于:200VC)
1 電磁鐵終端套管 5 閥體
2 銜鐵 6 下閥座
3 電磁閥 7 上閥座
4 接頭 8 閥桿
技術參數:
制造商: Herion-Werke
型號: 240 1178.1008
工作電壓: 24 V
工作壓力: 0 bar 到 10 bar
描述:該電磁閥由電子激勵,用以連接通道1和2(或2和3),該閥的機械部分安置在閥體5當中,電磁閥通過接頭4連接到閥體上。
運行:當電磁閥未被激勵時,彈簧通過心軸和銜鐵將閥瓣壓緊在下閥座上,通道3被關閉,通道1和2連通。當電磁閥被激勵時,電磁力將心軸和銜鐵向上拉動,使閥瓣與上閥座貼合,通道1被關閉,通道2和3被連通。
7.1.5 閥組1 手動緊急控制 8 連接孔板
2 連接器
3 二位五通電磁閥 A B 下游管線接口
4 線路圖 R S 閥組通風
5 先導閥 R1 先導閥通風
6 二位五通主閥
7 消音器 (灰塵過濾器) P 壓縮空氣
技術參數:
型號: 五組二位五通閥
工作壓力:最大 10 bar
工作電壓: 24 V DC + 50% / - 25%
占空系數:100 %
描述:該閥組由五個平行布置在連接孔板8上的二位五通電磁閥組成,每個二位五通閥又由電子驅動的先導閥和氣壓驅動的主閥組成。先導閥的連接線安裝在一個19針的連接器上。當閥門未動作時,壓縮空氣經P通過接口B流入其下游管線,接口A及其下游管路通過消音器R排氣。如果先導閥被激勵,它將釋放先導空氣進入主閥,使主閥開關動作,壓縮空氣從入口P經接口A流入下游管線,接口B及其下游管線通過消音器S排氣。如果先導閥的電子激勵失靈,還可以通過手動緊急控制1打開相應先導閥。
7.1.6活頁閥(代碼:200VC)1 閥頭 7 閥門驅動件
2 活塞桿 8 壓縮彈簧
3 密封圈 9 控制氣體
4 密封圈支撐
5 活塞 E 通風
6 電磁閥 Z 控制氣源
技術參數:
制造商: MTU, Friedrichshafen
控制氣體壓力: 6 bar
描述:該活頁閥為氣動閥,由200VC的二位三通閥控制,如果電磁閥6被激勵,在正常狀態下通過電磁閥的控制空氣就會被關閉,活頁閥將在彈簧力的作用下保持開啟位置,柴油機的冷卻水可以流過該閥;如果電磁閥未被激勵,控制空氣通過閥門驅動件7作用在活塞左側,克服彈簧力迫使活塞向右側移動,活塞通過活塞桿帶動閥頭,使閥頭壓緊在密封圈3上,活頁閥關閉。帶有嵌入式密封圈的支撐件4的作用是將活塞桿左右側的冷卻水和控制空氣分離開。
7.1.7蓄能器(代碼: 300/301/302/303/304/305/306/307 BG)
|
技術參數:
制造商: Festo Pneumatik KG, Esslingen
干預壓力:最大 10 bar
描述:該蓄能器為雙向氣動控制,軸承蓋和端蓋將汽缸體夾在中央,由四根螺桿及鎖緊螺母緊固,推力桿1靠軸承蓋中心孔導向,滑道處有密封圈密封,推力桿與汽缸內部的活塞相連,活塞兩側都布置有進氣孔,可調的節流器安裝在兩側的端蓋上,節流器上調整螺釘2的作用是調整工作后推力桿及活塞末端的位置。
運行:如果壓縮空氣作用在活塞的一側,活塞的另一側排氣,推力銷向與作用方向相反一側運動,在壓縮空氣作用后不久,活塞將軸承蓋或端蓋上的排氣孔關閉,防止剩余空氣迅速排出,這部分空氣在汽缸末端被活塞壓縮,減緩活塞的運動,為了使末端位置可以達到,該氣室通過節流器緩慢排空。
7.1.8 蓄能器(代碼:151CO)1 端蓋 11 潤滑油出口
2 汽缸 12 旋塞
3 螺栓 13 潤滑油入口
4 接頭 14 滑閥
5 壓縮空氣 15 彈簧
6 蓄能器基礎 16 減壓閥
7 彈簧座 17 結構圖
8 活塞 18 聚四氟乙烯環
9 彈簧 19 密封環
10 逆止閥
技術參數:
制造商:MTU, Friedrichshafen
名義容量: 油 0.5L
名義容量: 氣 0.4 L
工作壓力:氣側最大 40 bar
工作壓力:油側約 3bar
干預壓力:約 7 bar
描述:該蓄能器為油壓蓄能器,安裝在預潤滑系統中,通過壓縮空氣驅動。汽缸、端蓋和蓄能器基礎由螺栓連接,密封圈安裝在汽缸、端蓋和基礎之間,活塞安裝在氣缸內并由彈簧壓緊在蓄能器基礎6上,蓄能器的端蓋密封潤滑油,其基礎密封壓縮空氣,潤滑油的出入孔道布置在端蓋上,孔道內安裝逆止閥控制潤滑油的流向,潤滑油出口處布置有減壓閥,當達到干預壓力時,關閉油道出口,壓縮空氣接頭安裝在蓄能器基礎上。
運行:壓縮空氣通過接頭4進入蓄能器,活塞在空氣壓力作用下向左運動,迫使潤滑油流出蓄能器并通過孔道作用在滑閥上,潤滑油的入口由逆止閥密封,當出口潤滑油壓力達到干預壓力時,滑閥向上運動,關閉出口孔道;在潤滑油壓力降低后,滑閥在彈簧力作用下恢復到其初始位置,將出口孔道開啟。在柴油機啟動過程結束后,壓縮空氣終止,活塞在彈簧力作用下恢復其最初位置,汽缸內的油腔被預潤滑系統充滿,潤滑油出口靠逆止閥關閉。
7.1.9 蓄能器(代碼:150CO)1 端蓋 6 墊片
2 汽缸 7 蓄能器基礎
3 彈簧 8 壓縮空氣
4 密封圈 9 潤滑油入口
5 活塞 10 潤滑油出口
技術參數:
制造商:MTU, Friedrichshafen
額定容量: 油1.5 L
額定容量: 氣1.5 L
工作壓力: 氣側最大40 bar
油側約3 bar
描述:該蓄能器與預潤滑油系統相連,由增壓空氣激勵。端蓋、氣缸和基礎由螺栓連接,端蓋和氣缸由O圈密封,基礎與氣缸間由墊片密封。氣缸中布置有活塞和彈簧,蓄能器端蓋側為油強,基礎側為氣腔,潤滑油出口油管與端蓋鏍接,潤滑油入口布置在缸體外側,進出口油道中安裝逆止閥,用以決定潤滑油流向。壓縮空氣入口管則安裝在蓄能器基礎上。
運行:壓縮空氣通過入口管線進入蓄能器空氣側,活塞被壓縮空氣向左推動,強制蓄能器油腔內的潤滑油流出,此時潤滑油入口由逆止閥截止。在啟動結束時,壓縮空氣中斷,彈簧將活塞恢復至其初始位置,油腔內又會被預潤滑油所充滿。
7.1.10 聯軸器1 鋼彈簧聯軸器 10 內部構件
2 GFL聯軸器 11 Clamping ring
3 發電機軸 12 引擎側法蘭
4 彈簧桿 13 曲軸
5 發電機側法蘭 14 彈簧片
6 帶驅動環的外部元件
7 內部構件 Z 供油油道
8 中間管 R 回油
9 中心星形架
技術參數:
制造商: Geislinger & Co.
型號: F63/7,5/36U + GFL S63F6
重量:約 985 kg
描述:引擎的動力通過驅動端聯軸器傳遞到發電機。它由一個鋼彈簧聯軸器和一個彎曲耦合器a flexural coupling,兩個聯軸器間由中間管8連接。鋼彈簧聯軸器為液壓減震聯軸器,扭矩的傳遞以及振動的降低是靠放射狀布置在星形架上的彈簧片實現的,板簧將聯軸器的星形架和外部構件連接起來,其結構和作用原理與減震器相同此處不再敘述。
GFL聯軸器補償適當的軸向、徑向以及角位移,彈簧桿安裝在其內部構件和外部構件之間,聯軸器用螺栓連接在發電機法蘭上。
第三章 柴油機定期試驗 5.1低功率試驗(PTXLHP/Q01) 5.1.1試驗目的核對:
起動順序以及電壓和頻率調節均能正確地履行其功能。
從外電源切換到內電源。
5.1.2試驗周期本試驗應每二月進行一次。
5.1.3 存在的風險/對策 若冗余系列不可用并且不能向重要裝置的輔助設備供電,則不能進行本試驗。
在電網受擾動的運行期間(例如狂風暴雨時),應避免進行本試驗。
確保滅火系統(JPV)完好可用。
LNA,LNB,LNC 和LND 盤均由其逆變器供電。
帶負荷(低功率下試驗柴油發電機組:40%Pn 運行的最短時間為1 小時;必要時,該時間
可延長直至變化的物理參數均已穩定為止。
乏燃料水池中,已裝載有乏燃料,試驗過程中及試驗結束后,要確保PTR001P0 投入運行。
如果PTR 正以雙泵雙熱交換器方式運行,則在試驗前,需將PTR 運行方式改為單泵雙熱交
換器運行方式,試驗結束后,應盡快恢復PTR 的雙泵雙熱交換器的運行方式,以防止乏料
池最大溫度超過50°C 要求(參見SPTR001 規程)。
如果有RGL002AA 存在,不能進行本試驗;否則,試驗將導致落棒。
5.1.4操作過程介紹的操作過程以柴油機就地操作為主,主要步驟如下:
試驗前柴油機狀態及參數檢查記錄;
主控模擬低電壓啟動柴油機,就地核對電壓、頻率及下游負荷失電帶載情況;
“柴油發電機組允許停運”按鈕按下,就地將選擇開關置于“就地”位置,核對設
備狀態;
切換001/002PO 運行;
核對柴油機冷卻水出口溫度達到80℃時冷卻風機啟動;
柴油機穩定運行1 小時后狀態參數檢查記錄;
通知主控,通過就地停運柴油機;
核對柴油機輔機設備停運啟動正常。
5.2滿功率試驗 5.2.1試驗目的驗證柴油發電機組向專設應急安全設備提供額定功率的能力。本試驗應通過LGB 母線將柴油發
電機組聯結到廠外輔助電網來進行。
5.2.2試驗周期試驗應每年進行一次或至少在每次換料冷停堆時進行。
5.2.3存在的風險/對策 若冗余系列不可用并且不能向重要裝置的輔助設備供電,則不能進行本試驗;
在電網受擾動的運行期間(例如:狂風暴雨),禁止進行本試驗;
確保滅火系統(JPV)完好可用;
確保LGB001JA 已閉合;
配電盤LNA,LNC 均由逆變器供電;
帶額定負荷運行的最短時間為1.5 小時。
5.2.4操作過程介紹的操作過程以柴油機就地操作為主,主要步驟如下:
試驗前柴油機狀態及參數檢查記錄;
隔離每臺柴油機的1 條啟動空氣管線,偶數大修隔離A列,奇數大修隔離B列;
主控手動啟動柴油發電機組,就地核對啟動時間、電壓和轉速,并通過同步耦
合控制臺將柴油發電機組連接到外部電網上,要求電壓差為0,兩個頻率必須相同;
“柴油發電機組允許停運”按鈕按下,核對輔機設備狀態;
切換001/002PO 運行;
將選擇開關設置到“LOCAL”位置,手動升負荷,手動調節有功功率,手動調節無功功率,直至負荷達到滿功率6MW;
額定滿功率下燃油油耗測量:記錄日用油箱油位變化20%前后的時間,然后計算油耗;
在6MW 的運行期間調節有功和無功,保持其負荷的穩定性;
核對柴油機冷卻水出口溫度達到80℃時冷卻風機啟動;
柴油機穩定運行1.5 小時后狀態參數檢查記錄(6 個功率平臺);
通知主控,通過就地停運柴油機;
核對柴油機輔機設備停運啟動正常。
5.3 廠用電運行情況下柴油發電機組啟動檢查(PTXLHP/Q03) 5.3.1 試驗目的檢查:
GEW開關沒有合上,同時LHA 配電盤低壓情況下發電機組的啟動;
壓縮空氣罐充注時間。
5.3.2試驗周期每年一次或至少在每次換料大修時做一次。
5.3.3存在的風險/對策 如果備用系統不可用,不能提供機組的基本供電的話,本試驗不能進行。
電網受干擾(如雷雨)期間本試驗不能進行。
確保防火系統(1JPV)可用。
LNA、LNC 或LNB、LND 由其逆變器供電。
將發電機組空載運行時間減至最短,以避免柴油機燃燒室異常積炭。
5.3.4操作過程介紹的操作過程以柴油機就地操作為主,主要步驟如下:
試驗前柴油機狀態及參數檢查記錄;
通過模擬LHA 或LHB 配電盤低電壓信號啟動柴油機,就地核對電壓、頻率及下游負荷失電帶載情況;
取掉的短接線,按下“柴油發電機組允許停運”按鈕,將選擇開關置于“就地”位置,并通過就地停運柴油機;
就地將選擇開關置于“遠控”位置,檢查輔機設備狀態,并進行壓縮空氣罐充注試驗;
進行空氣充注試驗檢查,將空氣瓶壓力釋放至35bar,觀察空壓機啟動并將氣瓶壓力提高至40bar的時間。
5.4啟動用壓縮空氣罐的充注試驗(PTXLHP004) 5.4.1試驗目的檢查柴油發電機組啟動用壓縮空氣罐的充注時間。
5.4.2試驗周期每換料周期一次。
5.4.3風險分析 壓力高,排氣時注意安全。
試驗時噪音極大,注意佩帶護耳設備。
5.4.4操作過程 核對LHP 或LHQ 系統在線已完成;
檢查兩臺空壓機已送電;
氣瓶的充注試驗:開啟儲氣罐疏水閥,壓力降至約35 bar 時空壓機自動啟動,壓力降至
32 bar 時報警出現;
關閉氣瓶疏水閥,壓力升至32 bar 時報警消失;
氣瓶壓力從35 bar 升至40 bar 所需要的連續充注時間≤10 分鐘;
5.5日用燃油罐緊急排油試驗(PTXLHP005)(應該不存在了) 5.6低功率試驗(PTXLHP/Q006) 5.6.1試驗目的 柴油發電機組啟動順序以及電壓和頻率調節均能正確地履行其功能
從外電源切換到內電源
5.6.2試驗周期每兩月一次。
5.6.3風險分析 若冗余系列不可用并且不能向重要裝置的輔助設備供電,則不能進行本試驗;
在電網受擾動的運行期間(例如狂風暴雨時),應避免進行本試驗;
確保滅火系統(JPV)完好可用;
LNA,LNB,LNC 和LND 盤均由其逆變器供電;
帶負荷低功率下試驗柴油發電機組:40%Pn 運行的最短時間為1 小時,必要時,該時間可延長直至變化的物理參數均已穩定為止;
乏燃料水池中,已裝載有乏燃料,試驗過程中及試驗結束后,要確保PTR001PO 投入運行;
如果有RGL002AA 存在,不能進行本試驗,否則,試驗將導致落棒;
試驗會引起KRT 部分通道跳閘,請在試驗前通知輻射防護人員,并要求他們在試驗結束后恢復;
試驗過程中有從柴油機切回LGB 不成功的風險,若遇此情況,請切回柴油機帶載,并通知維修部門;
手動啟動柴油機后,現場應盡快完成“空載啟動后的操作與檢查”,空載運行時間要小于10 分鐘,以避免因低負荷燃油燃燒不充分在氣缸積碳;
在“試驗準備”中按正常方式停運試驗列DEG 制冷機,避免制冷機在電源切換時失電跳閘,失去“后潤滑”而損壞軸承。DEG 制冷機停運一分鐘后才可進行引起本列電源切換的操作;
在柴油機帶載運行期間,加強對柴油機的監視,防止出現柴油機單機運行。柴油機單機運行的判斷方法和處理措施見FOI。
5.6.4操作過程介紹的操作過程以柴油機就地操作為主,主要步驟如下:
試驗前柴油機狀態及參數檢查記錄;
主控通過模擬低電壓信息自動啟動柴油機,就地核對電壓、頻率及下游負荷失電帶載情況;
“柴油發電機組允許停運”按鈕按下,就地將選擇開關置于“就地”位置,核對主機、輔機設備狀態;
后續操作與檢查中,如果任何一步與預期結果不同,都要立即通知主控操縱員;柴油發電機組空載運行的時間要小于10 分鐘,以避免氣缸積碳。
切換001/002PO 運行;
核對柴油機冷卻水出口溫度達到80℃時冷卻風機啟動;
功率運行期間,要密切監視設備運行情況,并與主控保持密切的聯系,發現異常,立刻通知主控室操縱員;
柴油機穩定運行1 小時后狀態參數檢查記錄;
通知主控,通過就地停運柴油機;
核對柴油機輔機設備停運啟動正常。
5.6.5柴油機與電氣盤LHA并網延遲時間檢查(PTXLHP007)(不清楚試驗過程)