perkins 2206 2306 2506 2806a-g13tag配件 三濾

Item Parts No. Qty. Latest Part No. Description Cut Out Cut In Comment
項目 零件號 數量 新零件號 描述
1 CH12108 1 CH12108 COVER
1 ch12108 1 ch12108蓋
2 CH10166 1 CH10166 GASKET
2 ch10166 1 ch10166墊片
3 T401032 1 T401032 SEAL
3 t401032 1 t401032密封
4 CH12110 7 CH12110 BOLT
4 ch12110 7 ch12110螺栓
5 CH10086 7 CH10086 WASHER
5 ch10086 7 ch10086墊圈
6 CH10246 6 CH10246 BOLT
6 ch10246 6 ch10246螺栓
7 CH10086 6 CH10086 WASHER
7 ch10086 6 ch10086墊圈

Item Parts No. Qty. Latest Part No. Description Cut Out Cut In Comment
項目 零件號 數量 新零件號 描述
1 CH12535 1 CH12535 FLYWHEEL HOUSING
1 ch12535 1 ch12535飛輪殼
2 CH10165 1 CH10165 COVER
2 ch10165 1 ch10165蓋
3 CH11892 1 CH11892 SEAL - O RING
3 ch11892 1 ch11892密封O形環
4 CH12449 2 CH12449 BOLT
4 ch12449 2 ch12449螺栓
5 CH10277 2 CH10277 WASHER
5 ch10277 2 ch10277墊圈
6 T400249 1 T400249 PLUG
6 t400249 1 t400249插頭
7 T409315 1 T409315 SEAL - O RING
7 t409315 1 t409315密封O形環
8 CH12151 12 CH12151 BOLT
8 ch12151 12 ch12151螺栓
9 T401037 3 T401037 PLUG
9 t401037 3 t401037插頭
10 CH10291 1 CH10291 PLUG
10 ch10291 1 ch10291插頭
11 T400544 1 T400544 SEAL - O RING
11 t400544 1 t400544密封O形環
12 CH12536 1 CH12536 SPACER
12 ch12536 1 ch12536間隔
13 CH12536 1 CH12536 SPACER
13 ch12536 1 ch12536間隔

Item Parts No. Qty. Latest Part No. Description Cut Out Cut In Comment
項目 零件號 數量 新零件號 描述
1 T401038 1 T401038 CYLINDER HEAD COVER
1 t401038 1 t401038缸蓋罩
2 CH12142 1 CH12142 SEAL - CYL HEAD COVER
2 ch12142 1 ch12142共青團蓋密封
3 CH12143 10 CH12143 BOLT
3 ch12143 10 ch12143螺栓
4 CH11894 10 CH11894 WASHER
4 ch11894 10 ch11894墊圈
5 CH12140 10 CH12140 SEAL
5 ch12140 10 ch12140密封
Item Parts No. Qty. Latest Part No. Description Cut Out Cut In Comment
項目 零件號 數量 新零件號 描述
1 CH12628 1 CH12628 BREATHER
1 ch12628 1 ch12628呼吸
6 CH12457 1 CH12457 GASKET - BREATHER
6 ch12457 1 ch12457墊片-呼吸
7 CH12629 4 CH12629 BOLT
7 ch12629 4 ch12629螺栓
8 CH10303 4 CH10303 WASHER
8 ch10303 4 ch10303墊圈

Item Parts No. Qty. Latest Part No. Description Cut Out Cut In Comment
項目 零件號 數量 新零件號 描述
1 CH12481 3 CH12481 SHAFT
1 ch12481 3 ch12481軸
4 CH12484 3 CH12484 CLAMP
4 ch12484 3 ch12484夾
5 CH12483 6 CH12483 COLLAR
5 ch12483 6 ch12483領
6 T400226 6 T400226 ROCKER ARM
6 t400226 6 t400226搖臂
7 CH12513 6 CH12513 SCREW
7 ch12513 6 ch12513螺釘
8 CH11865 6 CH11865 NUT
8 ch11865 6 ch11865螺母
9 T401133 6 T401133 ROCKER ARM
9 t401133 6 t401133搖臂
10 CH12509 6 CH12509 NUT
10 ch12509 6 ch12509螺母
11 T401134 6 T401134 ADJUSTER
11 t401134 6 t401134調節器
12 CH10229 6 CH10229 SEAL - O RING
12 ch10229 6 ch10229密封O形環
13 CH12702 6 CH12702 PIVOT
13 ch12702 6 ch12702樞軸
14 CH12514 6 CH12514 ROCKER ARM
14 ch12514 6 ch12514搖臂
15 CH12513 6 CH12513 SCREW
15 ch12513 6 ch12513螺釘
16 CH11865 6 CH11865 NUT
16 ch11865 6 ch11865螺母
17 CH12278 12 CH12278 BRIDGE PIECE
17 ch12278 12 ch12278過橋
18 CH12795 12 CH12795 PUSHROD
18 ch12795 12 ch12795推桿
19 CH12808 6 CH12808 PUSHROD
19 ch12808 6 ch12808推桿

Item Parts No. Qty. Latest Part No. Description Cut Out Cut In Comment
項目 零件號 數量 新零件號 描述
1 CH12586 1 CH12586 SHAFT
1 ch12586 1 ch12586軸
4 CH12590 1 CH12590 BRACKET
4 ch12590 1 ch12590支架
5 CH11807 7 CH11807 BOLT
5 ch11807 7 ch11807螺栓
6 CH12587 12 CH12587 ROLLER
6 ch12587 12 ch12587輥
7 CH12585 6 CH12585 ROLLER
7 ch12585 6 ch12585輥
8 CH12589 5 CH12589 BRACKET
8 ch12589 5 ch12589支架
9 CH12588 1 CH12588 BRACKET
9 ch12588 1 ch12588支架
10 CH12591 1 CH12591 DOWEL
10 ch12591 1 ch12591銷

Item Parts No. Qty. Latest Part No. Description Cut Out Cut In Comment
項目 零件號 數量 新零件號 描述
1 T401135 1 T401135 CYLINDER HEAD ASSEMBLY
1 t401135 1 t401135缸頭組件
(1) T401135R 1 T401135R CYLINDER HEAD KIT - EXCH
(1)t401135r 1 t401135r缸蓋包交換

Item Parts No. Qty. Latest Part No. Description Cut Out Cut In Comment
項目 零件號 數量 新零件號 描述
1 CH12569 26 CH12569 CYLINDER HEAD BOLT
1 ch12569 26 ch12569缸蓋螺栓
2 CH12571 26 CH12571 WASHER
2 ch12571 26 ch12571墊圈
3 CH12570 8 CH12570 BOLT
3 ch12570 8 ch12570螺栓
4 CH12454 1 CH12454 GASKET - CYLINDER HEAD
4 ch12454 1 ch12454墊片,汽缸頭

Item Parts No. Qty. Latest Part No. Description Cut Out Cut In Comment
項目 零件號 數量 新零件號 描述
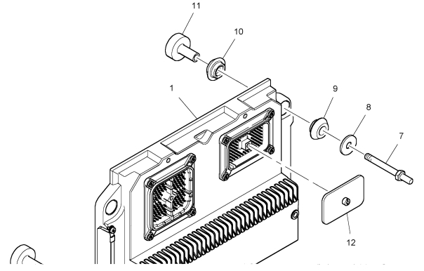
1 T401236 1 T401236 ENGINE CONTROL MODULE
1 t401236 1 t401236發動機ECM控制模塊
2 T401238 2 T401238 STUD
2 t401238 2 t401238螺柱
3 CH10279 2 CH10279 WASHER
3 ch10279 2 ch10279墊圈
4 CH10272 2 CH10272 VIBRATION MOUNT
4 ch10272 2 ch10272振山
5 CH10272 2 CH10272 VIBRATION MOUNT
5 ch10272 2 ch10272振山
6 T401237 2 T401237 SPACER
6 t401237 2 t401237間隔
7 T400642 2 T400642 BOLT
7 t400642 2 t400642螺栓
8 CH10279 2 CH10279 WASHER
8 ch10279 2 ch10279墊圈
9 CH10272 2 CH10272 VIBRATION MOUNT
9 ch10272 2 ch10272振山
10 CH10272 2 CH10272 VIBRATION MOUNT
10 ch10272 2 ch10272振山
11 T401237 2 T401237 SPACER
11 t401237 2 t401237間隔
12 CH12655 1 CH12655 COVER
12 ch12655 1 ch12655蓋

Item Parts No. Qty. Latest Part No. Description Cut Out Cut In Comment
項目 零件號 數量 新零件號 描述
1 T401171 1 T401171 MODULE
1 t401171 1 t401171模塊
7 T401170 3 T401170 BOLT
7 t401170 3 t401170螺栓
8 CH10277 3 CH10277 WASHER
8 ch10277 3 ch10277墊圈

Item Parts No. Qty. Latest Part No. Description Cut Out Cut In Comment
項目 零件號 數量 新零件號 描述
1 T401341 1 T401341 VALVE
1 t401341 1 t401341閥門
2 CH10420 1 CH10420 WIRING CLIP
2 ch10420 1 ch10420接線夾
3 CH12665 1 CH12665 BOLT
3 ch12665 1 ch12665螺栓
4 CH11819 1 CH11819 WASHER
4 ch11819 1 ch11819墊圈

Item Parts No. Qty. Latest Part No. Description Cut Out Cut In Comment
項目 零件號 數量 新零件號 描述
1 CH12446 1 CH12446 COVER
1 ch12446 1 ch12446蓋
2 CH10041 1 CH10041 BOLT
2 ch10041 1 ch10041螺栓
3 CH10277 1 CH10277 WASHER
3 ch10277 1 ch10277墊圈
4 CH12450 1 CH12450 NUT
4 ch12450 1 ch12450螺母
5 CH12447 17 CH12447 BOLT
5 ch12447 17 ch12447螺栓
6 CH10277 17 CH10277 WASHER
6 ch10277 17 ch10277墊圈
7 CH12442 1 CH12442 SEAL - OIL
7 ch12442 1 ch12442密封油
8 CH12450 5 CH12450 NUT
8 ch12450 5 ch12450螺母
9 CH10303 5 CH10303 WASHER
9 ch10303 5 ch10303墊圈
10 CH12441 1 CH12441 SEAL - TIMING CASE COVER
10 ch12441 1 ch12441密封正時箱蓋

Item Parts No. Qty. Latest Part No. Description Cut Out Cut In Comment
項目 零件號 數量 新零件號 描述
1 T401142 1 T401142 CYLINDER BLOCK ASSEMBLY
1 t401142 1 t401142缸體總成

Item Parts No. Qty. Latest Part No. Description Cut Out Cut In Comment
項目 零件號 數量 新零件號 描述
1 T401145 1 T401145 CRANKSHAFT ASSEMBLY
1 t401145 1 t401145曲軸總成
5 KRP3120 1 KRP3120 MAIN BEARING KIT
5 krp3120 1 krp3120主軸承盒
(5) KRP3120/051 1 KRP3120/051 MAIN BEARING KIT - U/S
(5)051 / 1 / 051 krp3120 krp3120主軸承盒U / S
6 KRP3207 1 KRP3207 THRUST WASHER KIT
6 krp3207 1 krp3207推力墊圈套件
7 CH12496 1 CH12496 SLEEVE
7 ch12496 1 ch12496套
8 CH12497 1 CH12497 SLEEVE
8 ch12497 1 ch12497套

Item Parts No. Qty. Latest Part No. Description Cut Out Cut In Comment
項目 零件號 數量 新零件號 描述
1 T401157 1 T401157 OIL PUMP
1 t401157 1 t401157油泵
9 CH10126 1 CH10126 SEAL - O RING
9 ch10126 1 ch10126密封O形環
10 T401156 1 T401156 OIL ELBOW
10 t401156 1 t401156油彎頭
11 CH10169 1 CH10169 COUPLING
11 ch10169 1 ch10169耦合
12 CH11906 2 CH11906 SEAL - O RING
12 ch11906 2 ch11906密封O形環
13 CH10170 1 CH10170 COUPLING
13 ch10170 1 ch10170耦合
14 CH10135 2 CH10135 SEAL - O RING
14 ch10135 2 ch10135密封O形環
15 CH10140 5 CH10140 BOLT
15 ch10140 5 ch10140螺栓
16 CH10277 4 CH10277 WASHER
16 ch10277 4 ch10277墊圈
17 CH12323 1 CH12323 BOLT
17 ch12323 1 ch12323螺栓
18 CH10277 2 CH10277 WASHER
18 ch10277 2 ch10277墊圈
19 CH12318 1 CH12318 SEAL - O RING
19 ch12318 1 ch12318密封O形環
20 CH10228 1 CH10228 SEAL - O RING
20 ch10228 1 ch10228密封O形環
21 CH10286 1 CH10286 PLUG
21 ch10286 1 ch10286插頭
22 CH11880 1 CH11880 SEAL - O RING
22 ch11880 1 ch11880密封O形環
23 T401160 1 T401160 OIL FILLER
23 t401160 1 t401160加油
24 CH10135 1 CH10135 SEAL - O RING
24 ch10135 1 ch10135密封O形環
25 T400368 1 T400368 SEAL - O RING
25 t400368 1 t400368密封O形環
26 CH12447 2 CH12447 BOLT
26 ch12447 2 ch12447螺栓
27 CH10277 2 CH10277 WASHER
27 ch10277 2 ch10277墊圈

Item Parts No. Qty. Latest Part No. Description Cut Out Cut In Comment
項目 零件號 數量 新零件號 描述
1 T401164 1 T401164 WATER PUMP
1 t401164 1 t401164水泵
13 CH10248 2 CH10248 BOLT
13 ch10248 2 ch10248螺栓
14 CH11819 2 CH11819 WASHER
14 ch11819 2 ch11819墊圈
15 CH11375 1 CH11375 PLUG
15 ch11375 1 ch11375插頭
16 CH10119 1 CH10119 SEAL - O RING
16 ch10119 1 ch10119密封O形環
17 CH10147 1 CH10147 SEAL - O RING
17 ch10147 1 ch10147密封O形環
18 CH12528 1 CH12528 SEAL - O RING
18 ch12528 1 ch12528密封O形環
19 T401166 1 T401166 COVER
19 t401166 1 t401166蓋
20 CH12530 1 CH12530 SEAL
20 ch12530 1 ch12530密封
21 CH12527 4 CH12527 BOLT
21 ch12527 4 ch12527螺栓

Item Parts No. Qty. Latest Part No. Description Cut Out Cut In Comment
項目 零件號 數量 新零件號 描述
1 T414436 1 T414436 WIRING HARNESS
1 t414436 1 t414436線束
17 CH11981 17 CH11981 CABLE TIE
17 ch11981 17 ch11981電纜接頭

Item Parts No. Qty. Latest Part No. Description Cut Out Cut In Comment
項目 零件號 數量 新零件號 描述
1 T401147 1 T401147 CAMSHAFT
1 t401147 1 t401147凸輪軸
2 T401148 1 T401148 CAMSHAFT GEAR
2 t401148 1 t401148凸輪軸齒輪
3 CH12519 1 CH12519 THRUST WASHER
3 ch12519 1 ch12519推力墊圈
4 CH10005 1 CH10005 WOODRUFF KEY
4 ch10005 1 ch10005半圓鍵
5 CH12435 1 CH12435 COVER
5 ch12435 1 ch12435蓋
6 CH12437 1 CH12437 SEAL - O RING
6 ch12437 1 ch12437密封O形環
7 CH11815 4 CH11815 BOLT
7 ch11815 4 ch11815螺栓
8 CH10277 4 CH10277 WASHER
8 ch10277 4 ch10277墊圈
9 CH12438 4 CH12438 BOLT
9 ch12438 4 ch12438螺栓

Item Parts No. Qty. Latest Part No. Description Cut Out Cut In Comment
項目 零件號 數量 新零件號 描述
1 T401153 6 T401153 PISTON KIT
1 t401153 6 t401153活塞套件
6 T401154 6 T401154 PISTON RING KIT
6 t401154 6 t401154活塞環組件

Item Parts No. Qty. Latest Part No. Description Cut Out Cut In Comment
項目 零件號 數量 新零件號 描述
2 1 PISTON
2 1活塞
3 CH12332 1 CH12332 GUDGEON PIN
3 ch12332 1 ch12332活塞銷
4 T401150 1 T401150 CIRCLIP
4 t401150 1 t401150卡簧
5 T401150 1 T401150 CIRCLIP
5 t401150 1 t401150卡簧

Item Parts No. Qty. Latest Part No. Description Cut Out Cut In Comment
項目 零件號 數量 新零件號 描述
1 CH12635 6 CH12635 CON ROD ASSEMBLY
1 ch12635 6 ch12635連桿總成
5 KRP3023 1 KRP3023 BIG END BEARING KIT
5 krp3023 1 krp3023大頭軸承盒
(5) KRP3023/051 1 KRP3023/051 BIG END BRG KIT - U/S
(5)051 / 1 / 051 krp3023 krp3023大頭BRG盒U / S
(5) KRP3023/076 1 KRP3023/076 BIG END BRG KIT - U/S
(5)076 / 1 / 076 krp3023 krp3023大頭BRG盒U / S

Item Parts No. Qty. Latest Part No. Description Cut Out Cut In Comment
項目 零件號 數量 新零件號 描述
1 T400052 1 T400052 ENGINE CONTROL MODULE
1 t400052 1 t400052發動機ECM控制模塊
2 CH12655 2 CH12655 COVER
2 ch12655 2 ch12655蓋

Item Parts No. Qty. Latest Part No. Description Cut Out Cut In Comment
項目 零件號 數量 新零件號 描述
1 T401215 1 T401215 AIR FILTER ASSEMBLY
1 t401215 1 t401215空氣濾清器總成
6 T401220 1 T401220 SHIELD
6 t401220 1 t401220盾
7 T401221 1 T401221 HEATSHIELD
7 t401221 1 t401221防熱
8 T401222 2 T401222 BOLT
8 t401222 2 t401222螺栓
9 T409444 2 T409444 SPACER
9 t409444 2 t409444間隔

Item Parts No. Qty. Latest Part No. Description Cut Out Cut In Comment
項目 零件號 數量 新零件號 描述
2 T401219 1 T401219 PIPE - AIR
2 t401219 1 t401219管空氣
3 1 AIR FILTER ASSEMBLY
1空氣濾清器總成3
4 T401217 1 T401217 PIPE - AIR
4 t401217 1 t401217管空氣
5 T401216 2 T401216 CLAMP
5 t401216 2 t401216夾

Item Parts No. Qty. Latest Part No. Description Cut Out Cut In Comment
項目 零件號 數量 新零件號 描述
1 T401187 1 T401187 HOUSING
1 t401187 1 t401187
2 T400066 1 T400066 SENSOR
2 t400066 1 t400066傳感器
3 T401184 1 T401184 BRACKET
3 t401184 1 t401184支架
4 T409903 6 T409903 SCREW
4 t409903 6 t409903螺釘
5 T410249 1 T410249 SENSOR
5 t410249 1 t410249傳感器
6 2415H011 1 2415H011 SEAL - O RING
6 2415h011 1 2415h011密封O形環
7 T401185 2 T401185 BOLT
7 t401185 2 t401185螺栓
8 T409236 2 T409236 WASHER
8 t409236 2 t409236墊圈
9 T400427 1 T400427 PLUG
9 t400427 1 t400427插頭
10 CH11880 1 CH11880 SEAL - O RING
10 ch11880 1 ch11880密封O形環
11 T401188 2 T401188 SEAL - O RING
11 t401188 2 t401188密封O形環

Item Parts No. Qty. Latest Part No. Description Cut Out Cut In Comment
項目 零件號 數量 新零件號 描述
1 T407269 1 T407269 AIR PRESSURE SENSOR
1 t407269 1 t407269空氣壓力傳感器
2 2415H011 1 2415H011 SEAL - O RING
2 2415h011 1 2415h011密封O形環
3 T401485 1 T401485 SENSOR
3 t401485 1 t401485傳感器
4 T409213 1 T409213 SEAL - O RING
4 t409213 1 t409213密封O形環
5 CH10054 2 CH10054 CABLE TIE
5 ch10054 2 ch10054電纜接頭
6 T401486 1 T401486 ADAPTOR
6 t401486 1 t401486適配器
7 T409314 1 T409314 SEAL - O RING
7 t409314 1 t409314密封O形環
8 KRP1687 1 KRP1687 TEMPERATURE SENSOR
8 krp1687 1 krp1687溫度傳感器
11 CH10287 1 CH10287 PLUG
11 ch10287 1 ch10287插頭
12 T406205 1 T406205 SEAL - O RING
12 t406205 1 t406205密封O形環

Item Parts No. Qty. Latest Part No. Description Cut Out Cut In Comment
項目 零件號 數量 新零件號 描述
2 1 TEMPERATURE SENSOR
1溫度傳感器2
3 T406205 1 T406205 SEAL - O RING
3 t406205 1 t406205密封O形環
3 CH10230 1 CH10230 SEAL - O RING
3 ch10230 1 ch10230密封O形環

Item Parts No. Qty. Latest Part No. Description Cut Out Cut In Comment
項目 零件號 數量 新零件號 描述
1 T400140 1 T400140 INTAKE MANIFOLD
1 t400140 1 t400140進氣歧管
2 CH12127 1 CH12127 GASKET - IND MANIFOLD
2 ch12127 1 ch12127墊片IND流形
3 CH12132 1 CH12132 SEAL - O RING
3 ch12132 1 ch12132密封O形環
4 CH10286 2 CH10286 PLUG
4 ch10286 2 ch10286插頭
5 CH11880 2 CH11880 SEAL - O RING
5 ch11880 2 ch11880密封O形環
6 CH10124 8 CH10124 BOLT
6 ch10124 8 ch10124螺栓
7 CH11819 12 CH11819 WASHER
7 ch11819 12 ch11819墊圈
8 CH12126 4 CH12126 STUD
8 ch12126 4 ch12126螺柱

Item Parts No. Qty. Latest Part No. Description Cut Out Cut In Comment
項目 零件號 數量 新零件號 描述
1 T419761 1 T419761 HEATER KIT
1 t419761 1 t419761加熱器組件
6 T414345 1 T414345 GASKET
6 t414345 1 t414345墊片
7 T414026 1 T414026 PLATE
7 t414026 1 t414026板

Item Parts No. Qty. Latest Part No. Description Cut Out Cut In Comment
項目 零件號 數量 新零件號 描述
1 T401155 1 T401155 VALVE COVER
1 t401155 1 t401155閥門蓋
2 T417055 1 T417055 ADAPTOR
2 t417055 1 t417055適配器
3 T400396 1 T400396 SEAL - O RING
3 t400396 1 t400396密封O形環
4 T400397 2 T400397 BOLT
4 t400397 2 t400397螺栓
5 CH10277 2 CH10277 WASHER
5 ch10277 2 ch10277墊圈
6 CH12459 1 CH12459 SEAL - ROCKER BOX
6 ch12459 1 ch12459密封搖臂箱
7 CH11814 7 CH11814 METRIC BOLT
7 ch11814 7 ch11814公制螺栓
8 CH10277 7 CH10277 WASHER
8 ch10277 7 ch10277墊圈
9 CH10140 6 CH10140 BOLT
9 ch10140 6 ch10140螺栓
10 CH10277 6 CH10277 WASHER
10 ch10277 6 ch10277墊圈

Item Parts No. Qty. Latest Part No. Description Cut Out Cut In Comment
項目 零件號 數量 新零件號 描述
1 T401249 1 T401249 ALTERNATOR BRACKET
1 t401249 1 t401249充電發電機支架
2 CH10099 2 CH10099 WASHER
2 ch10099 2 ch10099墊圈
3 317013 2 317013 NUT
317013、2螺母317013 3
4 CH10248 4 CH10248 BOLT
4 ch10248 4 ch10248螺栓
5 CH11819 4 CH11819 WASHER
5 ch11819 4 ch11819墊圈
6 T401253 1 T401253 TENSIONER
6 t401253 1 t401253張緊器
7 T401251 1 T401251 IDLER PULLEY
7 t401251 1 t401251惰輪
8 T401252 1 T401252 COVER
8 t401252 1 t401252蓋
9 CH12326 1 CH12326 BOLT
9 ch12326 1 ch12326螺栓
10 CH11819 1 CH11819 WASHER
10 ch11819 1 ch11819墊圈
11 T401250 1 T401250 BRACKET
11 t401250 1 t401250支架
12 CH12612 4 CH12612 BOLT
12 ch12612 4 ch12612螺栓
13 CH11819 4 CH11819 WASHER
13 ch11819 4 ch11819墊圈
14 CH12447 2 CH12447 BOLT
14 ch12447 2 ch12447螺栓
15 CH10277 2 CH10277 WASHER
15 ch10277 2 ch10277墊圈

Item Parts No. Qty. Latest Part No. Description Cut Out Cut In Comment
項目 零件號 數量 新零件號 描述
1 T401122 1 T401122 TURBOCHARGER
1 t401122 1 t401122渦輪增壓器
(1) T401122R 1 T401122R TURBOCHARGER - EXCHANGE
(1)t401122r 1 t401122r渦輪增壓器交換
5 T401121 1 T401121 GASKET - TURBOCHARGER
5 t401121 1 t401121墊片- TURBOCHARGER
6 T401124 4 T401124 NUT
6 t401124 4 t401124螺母

Item Parts No. Qty. Latest Part No. Description Cut Out Cut In Comment
項目 零件號 數量 新零件號 描述
1 T400307 1 T400307 COMPRESSOR
1 t400307 1 t400307壓縮機
Item Parts No. Qty. Latest Part No. Description Cut Out Cut In Comment
項目 零件號 數量 新零件號 描述
2 1 COMPRESSOR
2壓縮機1
3 T401539 2 T401539 BOLT
3 t401539 2 t401539螺栓
4 T401538 1 T401538 VALVE
4 t401538 1 t401538閥門
5 CH10140 6 CH10140 BOLT
5 ch10140 6 ch10140螺栓
6 CH10277 6 CH10277 WASHER
6 ch10277 6 ch10277墊圈
7 T409286 1 T409286 ADAPTOR
7 t409286 1 t409286適配器
8 T409314 1 T409314 SEAL - O RING
8 t409314 1 t409314密封O形環
9 T401540 1 T401540 ADAPTOR
9 t401540 1 t401540適配器
10 T409314 1 T409314 SEAL - O RING
10 t409314 1 t409314密封O形環
11 T401536 1 T401536 PIPE
11 t401536 1 t401536管
12 CH10285 1 CH10285 PLUG
12 ch10285 1 ch10285插頭
13 T409314 1 T409314 SEAL - O RING
13 t409314 1 t409314密封O形環
14 T401537 4 T401537 BOLT
14 t401537 4 t401537螺栓
15 T401542 1 T401542 VALVE KIT - COMPRESSOR
15 t401542 1 t401542閥門套件-壓縮機
16 T401543 1 T401543 GASKET KIT - COMPRESSOR
16 t401543 1 t401543墊片套件-壓縮機
17 T401544 1 T401544 REPAIR KIT - COMPRESSOR
17 t401544 1 t401544修理工具-壓縮機
18 T401541 1 T401541 SEAL KIT - COMPRESSOR
18 t401541 1 t401541密封壓縮機

Item Parts No. Qty. Latest Part No. Description Cut Out Cut In Comment
項目 零件號 數量 新零件號 描述
1 T401194 6 T401194 INJECTOR
1 t401194 6 t401194噴油器
(1) T401194R 6 T401194R INJECTOR - EXCHANGE
(1)t401194r 6 t401194r噴油器交換
7 T401195 6 T401195 INJECTOR CLAMP
7 t401195 6 t401195噴油器夾具
8 CH12326 6 CH12326 BOLT
8 ch12326 6 ch12326螺栓

Item Parts No. Qty. Latest Part No. Description Cut Out Cut In Comment
項目 零件號 數量 新零件號 描述
1 T401119 1 T401119 OIL FILTER HEAD
1 t401119 1 t401119油濾頭

Item Parts No. Qty. Latest Part No. Description Cut Out Cut In Comment
項目 零件號 數量 新零件號 描述
1 4587260 1 4587260 OIL FILTER
4587260、1號4587260油過濾器
2 CH12759 1 CH12759 GASKET - OIL FILTER HEAD
2 ch12759 1 ch12759墊片油濾頭
3 CH10432 6 CH10432 BOLT
3 ch10432 6 ch10432螺栓
4 T405615 6 T405615 WASHER
4 t405615 6 t405615墊圈
5 T400222 1 T400222 SEAL - O RING
5 t400222 1 t400222密封O形環
6 T400222 1 T400222 SEAL - O RING
6 t400222 1 t400222密封O形環

Item Parts No. Qty. Latest Part No. Description Cut Out Cut In Comment
項目 零件號 數量 新零件號 描述
1 T400305 1 T400305 STARTER MOTOR
1 t400305 1 t400305起動機 啟動馬達
(1) T400305R 1 T400305R STARTER MOTOR
(1)t400305r 1 t400305r起動機 啟動馬達
2 T400720 3 T400720 BOLT
2 t400720 3 t400720螺栓
3 T400724 3 T400724 WASHER
3 t400724 3 t400724墊圈
4 CH10310 1 CH10310 GASKET
4 ch10310 1 ch10310墊片
5 1 STARTER MOTOR LABEL
1起動機 啟動馬達電機標簽5

Item Parts No. Qty. Latest Part No. Description Cut Out Cut In Comment
項目 零件號 數量 新零件號 描述
1 T401127 1 T401127 FUEL FILTER HEAD
1 t401127 1 t401127燃油濾頭
4 CH10287 1 CH10287 PLUG
4 ch10287 1 ch10287插頭
5 CH10230 1 CH10230 SEAL - O RING
5 ch10230 1 ch10230密封O形環
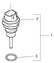
6 T406711 1 T406711 OIL PRESSURE SENSOR
6 t406711 1 t406711機油壓力傳感器
7 2415H011 1 2415H011 SEAL - O RING
7 2415h011 1 2415h011密封O形環
8 KRP1687 1 KRP1687 TEMPERATURE SENSOR
8 krp1687 1 krp1687溫度傳感器
11 CH11411 1 CH11411 DUST SHIELD
11 ch11411 1 ch11411防塵罩
12 CH11410 1 CH11410 PLUG
12 ch11410 1 ch11410插頭
13 CH11880 1 CH11880 SEAL - O RING
13 ch11880 1 ch11880密封O形環
14 T401128 1 T401128 ADAPTOR
14 t401128 1 t401128適配器
15 T409315 1 T409315 SEAL - O RING
15 t409315 1 t409315密封O形環
16 4650996 2 4650996 FUEL FILTER
4650996號2號4650996燃油濾清器

Item Parts No. Qty. Latest Part No. Description Cut Out Cut In Comment
項目 零件號 數量 新零件號 描述
1 T400306 1 T400306 ALTERNATOR
1 t400306 1 t400306充電發電機
(1) T400306R 1 T400306R EXCHANGE ALTERNATOR
(1)t400306r 1 t400306r交流充電發電機
2 T401130 1 T401130 ALTERNATOR PULLEY
2 t401130 1 t401130充電發電機皮帶輪
3 T401131 4 T401131 BOLT
3 t401131 4 t401131螺栓
4 T405615 4 T405615 WASHER
4 t405615 4 t405615墊圈

Item Parts No. Qty. Latest Part No. Description Cut Out Cut In Comment
項目 零件號 數量 新零件號 描述
1 T401226 1 T401226 FUEL FILTER HEAD
1 t401226 1 t401226燃油濾頭
6 4587259 1 4587259 FUEL FILTER
4587259號1號4587259燃油濾清器
6 1 FUEL FILTER
1燃油濾清器6
7 T400905 1 T400905 DRAIN PLUG
7 t400905 1 t400905塞
