卡特CAT發動機燃氣壓力調節器故障原因診斷與排除分析維修分享

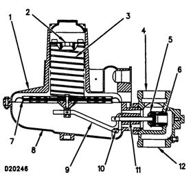
調節器操作圖(典型示意圖)
(1)彈簧側室(2)調節螺絲(3)彈簧(4)出口(5)閥盤(6)主噴嘴(7)主通風口(8)控制桿側室(9)控制桿(10)鎖銷(11)閥桿(12)進氣口
燃氣壓力調節器的功能是維持氣壓調節器出口(與化油器燃料入口相連)和化油器燃料入口間的壓力差。一些G3500卡特CAT發動機配備了高壓調節器。以下是對高壓氣體調節器操作的說明。

氣體經過進氣口(12)、主噴嘴(6)、閥盤(5)和出口(4)。出口壓力在控制桿一側主通風口(7)的控制桿側室(8)被感應。
當控制桿側室(8)的氣壓比彈簧(3)壓力和渦輪增壓器增壓要大時,通風口被彈簧推開。這將在鎖銷(10)部位推動控制桿(9),并引起閥桿向閥盤方向以閉合進氣噴嘴。
當進氣噴嘴關閉后,燃氣被從控制桿側室吸向出口。這就能減小控制桿側室內氣壓??刂茥U側室內的氣壓要低于彈簧側室的氣壓。在彈簧側室內的彈簧彈力和渦輪增壓器推力將通風口向控制桿移動。這將使轉動控制桿(支點),打開閥盤,允許更多的燃氣氣流進入化油器。

化油器操作圖(典型示意圖)
(1)蓋(2)隔膜(3)彈簧(4)氣閥(5)氣閥體(6)燃氣進入體(7)燃氣閥(8)傳動螺桿(9)板塊(10)節流板
注:此處描述的是單氣閥化油器的操作。雙氣閥化油器的操作與單氣閥化油器操作相同。
在不增壓卡特CAT發動機上,空氣流經空氣過濾器進入化油器空氣管道。在渦輪增壓卡特CAT發動機上,空氣被吸入卡特CAT發動機,流經空氣過濾器到達化油器渦輪增壓器,而后被推入后冷卻機核到達化油器空氣管道。在空氣管道中,空氣環繞氣閥體(5)流動,然后被推入隔膜(2),再向下流經氣閥中央,環繞燃氣進氣體(6),通過節流板(10)最后進入卡特CAT發動機。

燃料通過燃氣進入體(6)流入中央的化油器。燃料由燃氣進入體(6)頂部流出,與空氣混合,然后在環繞燃氣進入體流動,通過節流板進入卡特CAT發動機。燃氣閥(7)與氣閥相連,設計用來在氣閥處于空轉與全負載之間的任何情況下都能讓適量的燃料流入化油器。因而,在低轉速或空轉情況下,燃氣閥(7)讓燃料的以最小程度流入,并適當減少空氣燃料混合物流量。當卡特CAT發動機轉速增加,負載加大,燃氣閥(7)可以讓更多的燃料流入,并加大空氣燃料混合物的流量。當卡特CAT發動機停機時,彈簧(3)將燃氣閥向下拉,閥座處于關閉位置,這時沒有燃料能夠進入化油器。當燃氣閥處于與閥座最遠距離時,傳動螺桿(8)和板塊(9)能夠將燃料的輸入達到全負載狀態。

當卡特CAT發動機起動后,活塞的吸入沖程會引起汽缸內處于真空,這將產生一個比化油器內氣壓要低的氣壓環境。氣閥體(5)的通道將低壓連通到上端的隔膜(2)內。在這里,大氣壓力推開隔膜(2),并將隔膜向下拉向彈簧(3)。氣閥(4)被隔膜連接,且被拉開。在這時,空氣向上推開氣閥的外側能夠拉動彈簧。燃料閥(7)也與氣閥(4)連接,也被拉離起始位置,讓燃料進入化油器??諝馍蠅焊裟ぃ?/span>2),同時圍繞在氣閥內外和燃氣進入體(6)流動。當空氣流過燃氣進入體(6)時,它與燃料混合。這時空氣/燃料混合物向下流向節流板(10),進入分配通路,流向進氣集管,最后進入汽缸準備燃燒。
江門Perkins帕金斯1103C-33TG3發動機柴油泵、噴射泵組件去哪找?撫州Perkins帕金斯4012-46TWG2A發動機水溫機油壓力轉速傳感器代理商,淮北Perkins帕金斯1104C-44TAG1發動機活塞肖卡簧哪里有?呼和浩特Perkins帕金斯1106D-E70TA發動機銷售售后代理商一臺多少錢?濮陽Perkins404D-22發動機銷售中心聯系,