進氣和排氣門導管拆卸和安裝步驟CAT卡特C13珀金斯Perkins2206發動機

表 12
開始:
a. 拆下CAT卡特C13珀金斯Perkins2206發動機進氣門和排氣門。請參閱拆解和組裝,“進氣和排氣門-拆卸和安裝”。

圖釋 42
1. 使用工具(A)和錘子從氣缸蓋上拆下氣門導管。

表 13
1. 用清潔的發動機機油潤滑氣缸蓋中氣門導管的主孔。

圖釋 43
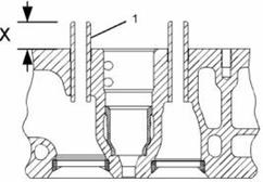
2. 使用工具(A)和工具(B)將氣門導管(1)安裝到氣缸蓋中。
注意:必須使用工具(B)將氣門導管安裝到正確的高度。

CAT卡特C13珀金斯Perkins2206發動機氣門導管頂部到氣缸蓋表面的高度(X).. 35.00 ± 0.50 mm (1.378 ± 0.020 inch)
有關更多信息,請參閱規格“氣缸蓋氣門”。
結束:
a. 拆下CAT卡特C13珀金斯Perkins2206發動機進氣門和排氣門。請參閱拆解和組裝,“進氣和排氣門-拆卸和安裝”。

廠界噪聲治理,噪音治理噪聲,邵陽企業小區電梯房降噪大概的價錢,懷化地下室配電房噪音治理 價格,風機的噪音和風量有關嗎,邵陽電梯減噪音治理工程公司,邵陽城步苗族電梯機房噪音治理專業服務中心,