Perkins珀金斯發動機缸蓋的最大變形的原因

用干用干凈的發動機機油潤滑螺紋和螺栓頭的下部。 按圖 14 中所示的順序將螺栓上緊到以下扭矩。50 N•m (37 lb ft)再次將螺栓擰緊至以下扭矩。160 N•m(118 lb ft)將螺栓頭擰緊到附加量。130 度
注: 表 1 中給出了缸蓋的最大變形。
表 1
尺寸
最大允許變形
寬度 (A)
0.03 mm (0.0012 in)
長度 (B)
0.05 mm (0.0020 in)
對角線 (C)
0.05 mm (0.020 in)
缸蓋最小厚度 118 mm (4.64566 in)


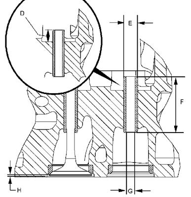
(D) 從氣門導管頂部至氣門彈簧座之間氣門導管高度 .. 12.35 至 12.65 mm (0.48622 至 0.49803 in)
(E) 氣門導管的外徑 13.034 至 13.047 mm(0.51315 至 0.51366 in)
(F) 氣門導管的長度 47.25 到 47.75 mm(1.86023 到 1.87992 in)
(G) 氣門導管的內徑 9.000 至 9.022 mm(0.35433 至 0.35520 in)
(H) 氣門深度
進氣 0.995 至 1.495 mm(0.03917 至 0.05886 in)
進氣門深度的維修極限 1.09 mm (0.04291 in)
排氣 0.65 至 1.007 mm(0.02559 至 0.03965 in)
排氣門深度的維修極限 2.06 mm (0.08110 in)

(J) 缸蓋中原有孔的直徑 13.000 至 13.027 mm(0.51181 至 0.51287 in)
(K) 座角
進氣 120 度
排氣 120 度

(J) 座表面拋光.................................................. Ra 0.8 微米
(K) (M) 氣門座與氣門導管原有孔同心度最大總指示讀數(TI0.05 mm (0.00197 in)