珀金斯Perkins發動機機油壓力與油底殼數據
寧波日昕動力科技有限公司,作為一家致力于提供高質量發動機配件的企業,我們向您介紹珀金斯Perkins發動機機油壓力與油底殼油底殼數據。
讓我們來了解一下機油壓力對發動機的重要性。機油壓力是發動機正常運行的重要指標之一。當機油壓力不足時,會導致潤滑不良,進而引發發動機磨損、發熱甚至銹蝕等問題。而珀金斯Perkins發動機機油壓力控制系統設計精良,能夠始終保持適宜的機油壓力,確保發動機在各種工況下都能獲得最佳潤滑效果。
接下來,我們來詳細了解一下油底殼數據對發動機的影響。油底殼是發動機的一個重要部件,起到儲存機油和降低發動機噪音的作用。合理的油底殼設計能夠提高機油的循環效率,并有效降低機油泡沫生成的風險。珀金斯Perkins發動機油底殼采用高強度材質制成,具有良好的密封性和耐腐蝕性,可以有效減少機油泄漏和異物進入油底殼的問題。
除了以上介紹的機油壓力和油底殼數據,我們還需要了解一些可能被忽略的細節。例如,珀金斯Perkins發動機配備了先進的油底殼加熱器,能夠在低溫環境下快速提升機油溫度,減少發動機磨損;油底殼還配備了可拆卸式濾油器,方便更換和清洗,延長濾芯壽命;此外,發動機機油壓力傳感器可以及時監測機油壓力波動,一旦出現異常情況,會自動報警,提醒您進行維護。
,珀金斯Perkins發動機的機油壓力控制系統和油底殼設計都經過精心研制,具備優秀的性能和可靠性。如果您正在尋找高品質的發動機配件,我公司將竭誠為您提供最適合您需求的產品。歡迎您聯系我們的銷售代表,了解更多相關信息并進行購買咨詢。

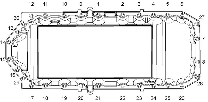
按照圖 33 中所示順序依次將緊固件擰緊至以下扭矩。 22 N•m (16 lb ft)
請參考《拆解和組裝》中安裝發動機油底殼的正確步驟。
(1) 將螺母擰緊至以下扭矩。 18 N•m (13 lb ft)
(2) 將螺塞擰緊至以下扭矩。 34 N•m (25 lb ft)